全沙排沙漏斗浑水流场特性及输沙规律
摘要:本文通过全沙排沙漏斗三维流场的测试,分析了清、浑水流场流速分布特性和泥沙输移,揭示了因泥沙的存在使清、浑水流场流速分布产生了较大的差异和高效输沙的原因。
关键词:全沙排沙漏斗 浑水流场 泥沙 模型试验
1 前言
在多沙河流上引水所带来的泥沙问题一直是重要研究课题。通常采用沉沙池等设施对进入引水渠道的泥沙进行二次处理。由于沉沙池的截沙率很低,而排沙耗水率很高,一般为30%左右,甚至更高。而随着工农业生产的迅速,需水量不断增加,渠道的引水比不断提高,一般为70%,甚至更高,冲沙水量贫乏,人们不愿耗水冲沙,沉沙池很少使用或不用,造成池内泥沙的大量淤积,产生恶性循环,直至沉沙池报废,使引水渠道的泥沙危害更为突出。 全沙排沙漏斗是近年研究成功的泥沙二次处理的科研成果。它不但可以有效地处理推移质泥沙,而且可同时处理悬移质泥沙,与沉沙池相比,不但尺寸小,而且截沙率高,对于粒径大于0.5mm的推移质泥沙截沙达100%,粒径大于0.05mm的悬移质泥沙截沙率达90%以上,而平均排沙耗水率仅为3%,是一种高效排沙节水型的最先进的泥沙处理设施。不仅可广泛用于灌溉、发电、水产养殖、供水和人畜饮水,还可用于挖泥船排出的泥浆脱水等领域。
2 全沙排沙漏斗的基本及其工作原理
2.1 全沙排沙漏斗的基本
全沙排沙漏斗一般设于渠首后的引水渠道上,其基本结果如图1所示,主要由进水闸、进水涵洞、圆形漏斗室、水平悬板、调流墩、曲线形溢流堰、回水道、可调式排沙底孔和排沙廊道等组成。 2.2 全沙排沙漏斗的工作原理 全沙排沙漏斗之所以具有高效稳定的排沙节水性能,是由其型式所产生的水流特性决定的。 |
|
当具有一定动能的含沙水流由进水涵洞切向进入漏斗室后,在漏斗圆形边壁约束下促使水体产生一强迫涡,而漏斗中心排沙底孔的存在,由于重力作用使水体在底孔附近产生一自由涡;与此同时,因调流墩和水平悬板的调流作用产生多种副流。上述强迫涡、势涡和多种副流耦合形成了稳定的立轴型螺旋流。泥沙随螺旋水流运动,由于推移质和悬移质泥沙在水中的运动特性不同,沉降输移的路径和距离也不同,依泥沙粒径大小先后沉降输移至排沙底孔,由排沙廊道输送至河道。经漏斗分离后的清水则由曲线形溢流堰流入回水道进入原引水渠道,从而完成水沙分离的全过程。由于空气漏斗的存在减少了排沙底孔过水断面,使冲沙水量减小。
3 模型试验装置及测试方案
3.1 模型试验装置
模型试验装置为一清、浑水自循环系统。全沙排沙漏斗模型尺寸为:进水涵洞宽30cm,高10cm,漏斗室直径150cm,水平悬板中心角180°,板宽30cm,漏斗径向底坡1/10,曲线形溢流堰长为漏斗室周长的四分之一,在水平悬板末端设置调流墩,排沙廊道纵坡1/50。
测速仪器选用天津水运工程研究所研制的EMV-89型电磁式流速仪,该仪器既可以测试清水流场流速,又可以测试浑水流场流速。此次流场测试试验,清、浑水都采用相同的流量,其值为0.026m3/s,浑水水流含沙浓度为35.8kg/m3。 3.2 测试断面及测点布置 试验选择8个垂直测试断面,根据不同水深布置6个水平测试断面,以等距离5cm布置测点。 |
|
测试断面及测点布置如图2所示。4 全沙排沙漏斗清水流场特性
4.1 清水流场切向流速分布规律
清水流场切向流速Vθ在不同的区域其分布规律亦不同,如图3所示。根据切向流速Vθ沿径向的分布特性,可将漏斗室流场分为两个区域,即漏斗内区(r0≤r≤0.6R,r0为排沙底孔半径,r为距全沙排沙漏斗中心的距离,R为全沙排沙漏斗半径,下同)和漏斗外区(0.6R≤r≤R)。在漏斗内区,切向流速Vθ与r呈指数关系,Vθ随r的增大而减小;在漏斗外区,切向流速Vθ与r呈线性关系。在靠近水面及漏斗底部一定范围内,切向流速Vθ沿水深方向有一流速梯度,其大小随测线位置的不同而不同,而在中部的切向流速Vθ沿水深基本没有变化,在漏斗内区这一特性更为显著,如图4所示。
|
|
图3 2断面切向流速径向分布 | 图4 2断面切向流速轴向分布 |
4.2 清水流场径向流速分布规律
清水流场径向流速Vr在不同的断面上沿径向的分布具有相同的趋势,即随着r的减小逐渐增大,在漏斗中心的排沙底孔附近达到最大值,如图5所示,在漏斗内区,径向流速Vr在径向遵循双曲线分布规律。径向流速Vr在漏斗内区沿轴向趋于均匀,而在漏斗外区,径向流速沿轴向并非均匀分布,如图6所示。
试验资料同时也表明,在漏斗外区,位于水平悬板末端和调流墩后附近断面靠近漏斗边壁的径向流速Vr,局部出现了反向值,且在水深方向分布也并不均匀,说明水平悬板末端的水流比较紊乱。而在水平悬板下面的断面,径向流速Vr则比较稳定。
|
|
图5 6断面径向流速径向分布 | 图6 2断面径向流速轴向分布 |
4.3 清水流场轴向流速分布规律
如图7、8所示,由四川联合大学高速水力学国家重点实验室提供的清水流场的试验资料表明,轴向流速VZ(向下为正,向上为负)较切向流速Vθ和径向流速Vr小得多,轴向流速VZ随r的增大而减小。在漏斗区内,轴向流速VZ随水深的增大而增大,且方向均向下。而位于水平悬板末端和调流墩后的附近区域,各向流速分布均较紊乱,并出现了向上的轴向流速VZ值,这不利于泥沙的沉降和排除。
|
|
图7 3断面轴向流速轴向分布 | 图8 3断面轴向流速径向分布 |
5 全沙排沙漏斗浑水流场特性
图9~15给出了清、浑水流场切向流速和径向流速分布。由试验资料可看出,无论是清水还是浑水,切向流速沿径向分布及径向流速沿轴向分布规律基本一致,泥沙对于漏斗流场的影响主要表现在切向流速沿轴向分布和径向流速沿径向分布规律上。
5.1 浑水流场切向流速分布特性
图9和图10给出了清水、浑水条件下同一断面不同水深的切向流速Vθ的径向分布。从图中可以看出,切向流速Vθ的径向分布规律基本相同,其切向流速Vθ随r的增大而减小。浑水切向流速Vθ值较清水平均增大约35%,而这种增幅是随r的增大而增加。
图11和图12给出了不同断面清、浑水切向流速Vθ的轴向分布。从图中可以看出,泥沙对于切向流速在轴向的分布影响是明显的,特别是在漏斗内区,浑水的切向流速Vθ在轴向的分布更为均匀。随着r的增大,在漏斗外区,清、浑水的流速分布规律趋于一致。说明内区水流受泥沙影响显著。
5.2 浑水流场径向流速分布特性
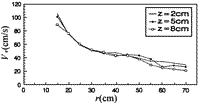
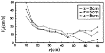
泥沙对于径向流速Vr沿径向分布影响较大。在接近漏斗水面,清、浑水的径向流速Vr的径向分布规律是相同的,如图13所示。但其值却相差很大,浑水较清水的径向流速Vr的径向分布平均增大了一倍以上。而在漏斗的底部,清、浑水的径向流速Vr的径向分布规律不相同,如图14所示。说明泥沙对于径向流速沿径向分布的影响更为突出。泥沙对于径向流速在径向的影响范围大小与断面位置有关。对于远离水平悬板和受进口条件影响较小的断面(如2、3断面),水流比较稳定,有利于悬移质泥沙的沉降,大量泥沙在该区域沉降下来,因此在该区域泥沙在轴向影响范围较大。而在其他区域(如5、6断面),一般是粗颗粒泥沙的沉降,受重力作用显著,因此,泥沙对水流特性影响的水深范围就很小。
|
|
图9 2断面(Z=8cm)切向流速径向分布 | 图10 2断面(Z=-1cm)切向流速径向分布 |
|
|
图11 1断面切向流速轴向分布 | 图12 6断面切向流速轴向分布 |
|
|
图13 2断面(Z=14cm)径向流速径向分布 | 图14 2断面(Z=-1cm)径向流速径向分布 |
泥沙对于径向流速在轴向分布的影响与切向流速在轴向分布的影响相似,即清、浑水的径向流速的轴向分布规律是相同的,如图15所示。
上述清、浑水流场对比分析表明,切向流速沿径向的分布规律与径向流速沿轴向的分布规律在清、浑水情况下基本是一致的,只是由于泥沙的存在,使浑水流速分布较清水更均匀,而在数值上有较大差异,即浑水较清水流速增大很多。
6 全沙排沙漏斗的泥沙输移规律
要处理水中的泥沙,首先使水中的泥沙能够沉降下来;其次是沉降下来的泥沙通过一定的措施顺利地排除。全沙排沙漏斗具备上述两方面的条件。全沙排沙漏斗所形成的水流是典型的三维螺旋流,其切向、径向和轴向流速对泥沙的沉降、输移和排除起到了关键作用。方向向下的轴向流速促使泥沙的沉降,指向漏斗中心的径向流速将泥沙输送至排沙底孔排除掉,而切向流速起维持漏斗涡流强度的作用。切向流速是漏斗涡流的主流,径向和轴向流速是漏斗涡流的副流,主流和副流的耦合形成了漏斗涡流。在这种涡流作用下,泥沙在向下沉降的同时向排沙底孔输移而被排除掉。
通过试验分析,根据泥沙在全沙排沙漏斗内的输移沉降特性不同,可将全沙排沙漏斗分为悬板区、调流区、非悬板区和中心区,如图16所示,其输沙规律如下。
|
|
图15 8断面径向流速轴向分布 | 图16 泥沙沉降、输移分区图 |
悬板区,由于径向流速和轴向流速均较大,对于能在该区域沉积下来的泥沙,主要是重力作用占主导地位,即泥沙是以推移质的形式进入漏斗室,是水沙分离状态。沉积下来的泥沙在很大的径向流速和轴向流速的作用下迅速输移至排沙底孔,因此,该区域有利于泥沙的输移。
调流区,该区域是调流墩前后、水平悬板和非水平悬板变更所形成的区域,其边界条件非常复杂,水流很紊乱。对于推移质泥沙一般不能进入该区域,而悬移质泥沙在该区域水流很紊乱的情况下又很难沉降分离出来,因此,该区域即不利于泥沙的沉降也不利于泥沙的输移。
非悬板区,该区域为非水平悬板区域,水流稳定,轴向流速方向全部向下,且流速较小,因此,该区域有利于泥沙的沉降。
中心区,是一半径为0.3R的圆形区域。由于自由涡的强烈作用和受空气漏斗的影响,形成了具有高效输沙能力的漏斗涡流。该区域内轴向流速方向全部向下,因此,该区域既有利于泥沙的沉降,又有利于泥沙的输移,是泥沙沉降和输移的理想区域。
悬板区有利于泥沙的输移,非悬板区有利于泥沙的沉降。从浑水试验观测到,悬板区泥沙输移速度明显快于非悬板区,悬板区沉积泥沙粒径明显大于非悬板区的泥沙粒径。试验还表明,对于粒径大于0.1mm的泥沙基本上在悬板区就被输移至排沙底孔,一般到不了非悬板区。在多级配的浑水试验中,在漏斗底部的悬板区和非悬板区均出现两条泥沙沉积输移带,在调流区很少泥沙存在,可以认为调流区为一过渡区域,这与流场特性分析结论一致。
7 结语
通过全沙排沙漏斗清、浑水流场分析知,泥沙的存在减弱了水流的紊动强度,产生了改变流速分布的效果,使浑水流场流速分布较清水流场更为均匀,使流速增大。同时,泥沙对漏斗流场的影响集中体现在漏斗内区和漏斗底部,证明漏斗螺旋流具有使泥沙沉积并且向漏斗排沙底孔输移的水流特性。从泥沙输移规律知,悬板区有利于泥沙的输移,非悬板区有利于泥沙的沉降,调流区不利于泥沙的沉降和输移,中心区是泥沙沉降和输移的理想区域。
由于全沙排沙漏斗是典型的二相三维螺旋流,浑水流翅构非常复杂,受测试手段和量测仪器的制约,在此仅作定性分析,对全沙排沙漏斗浑水流翅构还需更深入的研究。
参 考 文 献
[1] 谢鉴衡等.河流泥沙工程学.出版社,1981.9.
[2] 周著等.带悬板排沙漏斗三维流场测试.八一农学院学报,1995,(3).















