泥石流泥沙体积浓度之研究
摘要:本研究系探讨泥石流先端部和整体平均(包括先端部及后续水流)泥沙体积浓度随着溪床坡度之变化,以及其纵剖面泥沙体积浓度沿着水深的分布特性。经采用其他研究者渠槽试验资料进行检定及验证后发现,当系数ξ=0.1时,本研究所提出泥石流平衡泥沙体积浓度之半经验公式,不仅可模拟泥石流先端部泥沙体积浓度随着溪床坡度之变化趋势,亦可适于推估不同溪床坡度下之泥石流整体平均泥沙体积浓度。同时,本研究也应用最大熵原理及平衡泥沙体积浓度半经验公式,导出了纵剖面泥沙体积浓度分布之理论公式,经Tsubaki实测资料验证结果显示,本文模式可以掌握纵剖面泥沙体积浓度之分布趋势而优于Tsubaki及Chen两研究者之理论公式。
关键词:泥石流 体积浓度 模式分析
1 前言
泥石流是指发生于陡峻的溪谷或斜坡面上未固结之沉积物或经风化之砾石、岩屑等堆积土体,受豪雨形成的地表迳流或土层地下水位上升等水文过程之影响,而失去原有安定之状态,土砂砾石伴随着洪流在重力作用下沿着坡面形成的一种高浓度集体流动现象,对区域环境安全和生产的影响甚巨,而逐渐引起人们的重视。在过去的二十余年间,已有不少学者专家投入泥石流的形成、运动、停积及治理措施等各方面课题之研究,并获得若干成果。但受限于对泥石流形成过程及其流动特性变化规律的了解程度,致使在探讨其行为机制的各项相关因子时,仍不免存在着一些盲点有待解决,例如泥石流泥沙体积浓度(或泥沙含量)的变化规律,就是一个相当显著的例子。泥石流泥沙体积浓度系指单位体积中固体泥沙颗粒所占有的体积,属于泥石流基本流体特性之一,其变化规律密切影响着泥石流的行为机制,而与泥石流运动、流出土方量、泛滥范围及其成灾规模等问题关系密切,为泥石流防灾相当重要的指标参数之一,惟目前除了日本高桥(Takahashi)的理论模式外,相关研究成果却是寥寥可数。
根据高桥建构泥石流平衡泥沙体积浓度理论公式所引用的理论基础,可以有两种不同的表达形式,一是以巴格诺(Bagnold)高泥沙含量固液两相流的本构关系为基础;另一则是运用了水力学原理。兹分述如下:
巴格诺[1]从实验中发现,当固液两相流中泥沙含量很高时,由于固体颗粒间可以透过不断地碰撞来进行动量转换而形成两种不同的力量,其中沿着水流方向的动量交换会形成粒间离散剪应力(τ,inter-particle dispersive shear stress),而与水流垂直方向的动量交换则形成粒间离散应力(Pd,inter particle dispersive stress)。同时,他也提出了粒间离散剪应力与粒间离散应力间的本构关系(constitutive relationship)可表为
τ=-Pdtanα | (1) |
式中,tanα=动摩擦系数,当水流处于完全惯性区(fully inertial range)时,tanα≈0.32[1]。高桥[2]即利用此一关系式,经由泥石流固液两相的动量守恒方程导出了泥石流平衡泥沙体积浓度公式
Cd=ρtanθ/(ρs-ρ)(tanα-tanθ) | (2) |
式中,Cd=平衡泥沙体积浓度;θ=溪床倾斜角度;ρs、ρ=固体泥沙颗粒及流体之密度。由上式得知,因不能使用于tanθ≥tanα≈0.32的溪床条件,加上泥石流常发生在溪床倾角θ≥15°的陡峻地形上,使得应用式(2)在泥沙体积浓度时,因合理值范围相当有限而难以符合实况。例如,取tanα=0.32、tanθ=0.268(θ=15°)、ρs=2.6g/cm3及ρ=1.0g/cm3代入式(2),则平衡泥沙体积浓度Cd=3.2,该值已超出泥沙体积浓度之合理值,实际上是不存在的。因此,高桥运用水力学原理推导平衡泥沙体积浓度公式[3]
Cd=ρtanθ/(ρs-ρ)(tanφ-tanθ) | (3) |
式中,tanθ=静摩擦系数。与式(2)比较得知,上式分母中系采用静摩擦系数tanθ,而非动摩擦系数,是两方程式间的主要不同点。惟高桥经实验验证显示,式(3)的形式在模拟泥石流泥沙体积浓度变化规律上优于式(2),故乃建议采用式(3)作为预测稳定均匀条件下的泥石流先端部泥沙体积浓度。不过,Chen[4]曾对此提出看法认为,泥石流既已达稳定均匀流况,其流动型态自应处于完全惯性状态,固体泥沙颗粒间的摩擦作用理当采用动摩擦系数作为参数,较为合理,而非静摩擦系数。
笔者[5]则自非牛顿流体流变方程式出发,认为泥石流在高浓度、高剪应变率时,由于颗粒间始终保持直接接触,不同粒径的石砾相互叠置碰撞,使颗粒间除承受来自于颗粒间弹性碰撞所产生的离散剪应力作用外,还必须考虑颗粒间之摩擦阻力。这样,泥石流先端部泥沙体积浓度可表为
Cd=(3-2β)ρtanθ/(ρs-ρ)[(2β-3)tanθ+3tanα] | (4) |
式中β=摩擦阻力系数(resistance coefficient),且0≤β≤1。根据上式,若不考虑粒间摩擦阻力系数,取β=0时,可获得和式(3)?完全相同的泥沙体积浓度表达式。
欧国强[6]于流槽通过实验方式研究泥石流先端部及其后续水流两部分之整体平均泥沙体积浓度,并建立了以溪流坡度为主的泥沙体积浓度经验公式,即
Cdt=4.3Cm(tanθ)1.5/1+4.3Cm(tanθ)1.5 | (5) |
式中Cdt=泥石流整体(包括先端部及后续流)平均泥沙体积浓度;Cm=溪床面静止泥沙之最大泥沙体积浓度(the grain concentration in volume in the static debris bed)。
综合以上各泥沙体积浓度公式绘出泥沙体积浓度与溪床坡度之关系曲线,如图1所示。图中显示
| 1.高桥与笔者之泥石流体积浓度曲线均呈向上扬升趋势,当溪床坡度略大于某数值时,其泥沙体积浓度即因快速增加而使之大于1.0,这与泥沙体积浓度的基本定义相互矛盾。 2.欧国强泥沙体积浓度曲线系随着溪床坡度增加而渐趋平衡,即使在较大的溪床坡度下,泥沙体积浓度亦未超出合理的范围,惟因属一经验公式,其通用性仍有待检验。 3.不论是泥石流先端部泥沙体积浓度或其整体平均泥沙体积浓度,从单一泥石流段波的整体流动特性来看,它们之间理应具有某种程度的共通特性,并可依相同或近似的机制建立其理论模式。惟目前系分别采用两种截然不同的机制及公式予以计算和模拟,使得先端部和整体平均泥沙体积浓度间的变化过程无法连贯,其机制自是无法统一地表达。 |
因此,虞及泥沙体积浓度对泥石流数值模拟和实际运用上的重要性,本文拟通过一定的理论过程和渠槽试验资料,建立泥石流泥沙体积浓度之通用公式,不仅可以修正高桥公式在模拟泥石流先端部泥沙体积浓度上不尽合理的变化趋势,亦可运用于推估泥石流的整体平均泥沙体积浓度。
2 理论分析
考虑一无限长且厚度均匀的无粘聚性饱和堆积土层,厚度为D,溪床面倾角为θ。当土层表面形成水深h0及泥沙体积浓度C0的水砂混合水流时,受重力作用之影响,水流不断地冲刷床面泥沙颗粒,使泥沙含量沿程增加,从而提高了流体内部泥沙颗粒间相互碰撞的机会和频度,?就产生泥沙颗粒间的动量转换和力量。由于这种水流的行为机制系受沿程泥沙含量的增减所左右,不仅具有碰撞过程的应力转换效应,亦与溪床表面泥沙颗粒的冲刷互为相关。因此,同时考虑巴格诺流体内部固体泥沙颗粒间的本构关系和水力学溪床表面的泥沙冲刷机制,将水流中泥沙颗粒间的离散剪应力和剪阻力转化为净剪应力(net shear stress),并与溪床表面泥沙颗粒的起动应力相结合,以决定水流对溪床表面泥沙的冲淤作用。这样,水流沿着流动方向上的净剪应力,可表为粒间离散剪应力与剪阻力之差,即
τr=τ-Pdtanα=[(ρs-ρ)C0+ρ]gh0sinθ-(ρs-ρ)gC0h0cosθtanα=ρgh0sinθ[1+ρs-ρ/ρC0(1-tanα/tanθ)] | (6) |
|
|
图2 无因次净剪应力与泥沙体积浓度之关系 | 图3 表面流作用床面堆积土层模型图 |
由上式得知,水流净剪应力系随着泥沙体积浓度C0的变化而改变,且与溪床坡度和动摩擦系数相关。为此,将上式写为无因次形式,即
T*=τr/ρghosinθ=1+ρs-ρ/ρ(1-tanα/tanθ) | (7) |
如图2为在给定的动摩擦系数下,不同溪床坡度时无因次净剪应力与泥沙体积浓度之关系图。图中,无因次净剪应力T*随着泥沙体积浓度C0之增加,分别呈现上升或下降,其趋势与溪床坡度和动摩擦系数间的大小互为相关;当tanθ>tanα时,无因次净剪应力T*呈缓和的上升趋势,而在tanθ<tanα的情形下,无因次净剪应力T*呈快速的下降趋势。但是,不论水流净剪应力随着泥沙体积浓度呈上升或下降,来自于溪床表面泥沙颗粒之阻滞效应,水流净剪应力和床面泥沙颗粒间的互动机转中,总会朝着某种动态的平衡关系,而使床面泥沙颗粒不再被大量的冲刷或者淤积;换句话说,在适当的床面条件配合下,水流泥沙含量终将趋于稳定,不再作激烈的增减,此时水流净剪应力和床面泥沙颗粒间会存在一种等势的关系,表为方程式,则可写为
τr=fcr | (8) |
当水流和床面泥沙颗粒具有以上的关系时,水流与溪床间的泥沙交换将达到平衡,水流泥沙体积浓度趋于饱和,溪床泥沙既不冲刷也不淤积。式中fcr为溪床面泥沙颗粒起动之临界剪应力(critical shear stress for incipient movement of sediment particles on the channel-bed),可表为单位面积溪床面上泥沙颗粒水中自重沿着流动方向上的抗冲力,即
fcr=η(ρs-ρ)gdscosθ | (9) |
式中 ds=床面泥沙特征粒径;ξ=综合因子,它是静摩擦系数、泥沙颗粒形状、级配、排列及其粘聚特性……等因素综合影响的修正系数,需由实测资料决定之。根据式(8)得知,当水流净剪应力与床面泥沙颗粒起动之临界剪应力相等(τr=fcr)时,因床沙与水流间的泥沙交换已趋平衡,水流中必然存在一饱和的泥沙体积浓度Cd,使其得以稳定均匀流条件向下游行进,故由式(6)和式(9)分别代入(8)式中,经整理可得,恒定均匀水流条件下之平衡泥沙体积浓度
Cd=ρtanθ/(ρs-ρ)(tanα-tanθ)-η/tanα-tanθds/h0 | (10) |
上式适用于一般挟沙水流及泥石流之流况。式中,泥沙粒径与水深比值(ds/h0)为与水流之泥沙体积浓度相关,其关系式可透过一物理图形予以求解,如图3所示,为表面流作用床面堆积层之简单模型图。假设表面流从断面0-0至断面1-1的有限距离Δx中,可移动床面泥沙厚度平均达Δh,则由砂砾连续方程式可得
C0U0h0+CmUΔx=CdU1h1 | (11) |
式中 床面泥沙冲刷速度U=Δh/Δt,且Δx=(U0+U1)Δt/2。为简化问题起见,假设入流速度U0与出流速度U1相接近时,即U0≈U1,又h1=h0+Δh,则上式经整理可得
Δh/h0=Cd-C0/Cm-Cd | (12) |
设表面流于断面0-0的泥沙体积浓度C0≈0;同时,因床面泥沙移动厚度Δh至少必须大于或等于单一泥沙颗粒之特征粒径ds,即Δh=nds,且n≥1,故上式可改写为
ds/h0=1/nCd/Cm-Cd | (13) |
或者,选取图3断面1-1处单位底面积之柱体分析,当断面0-0泥沙体积浓度等于零时,则柱体全部泥沙量h1Cd应来自于床面堆积泥沙,故有
h1Cd=(Δh+h0)Cd=ΔhCm | (14) |
上式经化简后与式(13)完全一致,这显示式(13)在推导过程的部分假设尚称合理。因此,将式(13)代入式(10)中,经整理可得恒定均匀水流平衡泥沙体积浓度之理论表达式为
| (15) |
式中χ1=ρtanθ/(ρs-ρ)(tanα-tanθ) | (16) |
χ2=η/n/tanα-tanθ=ξ/tanα-tanθ | (17) |
且tanθ≠tanα | (18) |
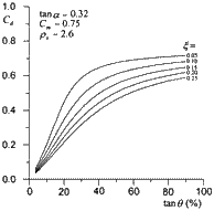
同时,由于没有任何水流之泥沙含量,可以大于静止溪床面堆积土沙之最大泥沙体积浓度Cm值,故式(15)平衡泥沙体积浓度两个解的合理范围应介于之间。如图4所示,为于不同的系数ξ下,泥沙体积浓度随溪床坡度的变化状况。图中显示,当系数ξ越大时,因床面泥沙必须要在更强的水流条件下始能起动,故在相同的溪床坡度下,水流的泥沙体积浓度会较小。
0≤Cd<Cm | (19) |
| 同时,为比较文本导出的泥沙体积浓度公式[即式(15)]与高桥理论公式[即式(2)],将式(2)比照式(6)整理为
上式表明,使无因次净剪应力T*=0的唯一条件是,1-tanα/tanθ<0或tanθ<tanα,故高桥公式只能适用于tanθ<tanα的条件。反观式(15),根据式(7)及图3得知,其理论过程业已考虑了tanθ>tanα和tanθ<tanα两种可能的情形,使在实际的运用上,仅须受tanθ≠tanα及式(19)泥沙体积浓度合理值范围的条件限制外,并无其他的条件限制,这已排除了高桥理论公式(2)不能适用于tanθ>tanα的地形条件。 |
3 模式分析与讨论
3.1 模式参数检定
从理论分析结果得知,本文平衡泥沙体积浓度公式中存在一个待定的综合系数ξ,必须仰赖实测资料始能获得。为此,本研究仍采用高桥[3]的实验资料,来进行模式参数之检定。
高桥为于宽20cm、深40cm及长700cm活动水槽上堆积厚度14cm之混合砂,已知混合砂平均粒径dm=5.8mm、堆积土砂最大泥沙体积浓度Cm=0.756、内部静摩擦系数tanφ=0.75及砂砾密度ρs=2.6g/cm3等资料(参见表1),以及在θ=7°、9°、13°、15°、17°、20°、22°和25°等八种渠槽倾角下,经上游供给单位宽流量qw=23~153cm2/s冲刷堆积土沙形成泥石流进行试验,并量测其先端部泥沙体积浓度,与渠槽坡度一起点绘在直角坐标系中,如图5中之实心黑点。这样,依据高桥实验材料特性,分别采用堆积土砂最大泥沙体积浓度Cm=0.756、动摩擦系数tanα=0.32、砂砾密度ρs=2.6g/cm3和水体密度ρ=1.0g/cm3等资料分别代入式(16)及式(17)中χ1及和χ2后,再由式(15)即可获得不同渠槽坡度下的泥沙体积浓度,如图5所示。图中,除了由式(15)所绘出的平衡泥沙体积浓度曲线外,其余两条曲线系分别由高桥公式[式(3)]和欧国强公式[式(5)]所获得,资料点则为高桥渠槽试验之实测数据。
表1 高桥与欧国强实验条件表
The condition in Takahashi's and Ou's experiments
实验者 | qw(cm2/s) | dm(mm) | D(cm) | ρs(g/cm3) | Cm | tanφ | 备 注 |
高桥等 | 23~153 | 5.8 | 14 | 2.60 | 0.756 | 0.750 | 先端部 |
欧国强等 | 22.22~55.56 | 5.0 | 3 | 2.48 | 0.604 | 0.781 | 全部流体 |
根据分析结果发现,当综合系数ξ=0.1时,本文模式所绘得的泥沙体积浓度曲线与资料点间具有较为一致的变化趋势和较佳的相关性,不仅优于高桥公式之理论曲线,而且也较欧国强经验公式为佳。由于欧国强经验公式系考虑泥石流的整体平均状况所建立,异于高桥所撷取的先端泥沙体积浓度,故其曲线走向偏离资料点是可预期的。但是,比较本文模式与高桥模式的趋势走向及其对实测点的密合程度,大致上可归纳出以下几个特点:
1.当渠槽坡度tanθ≤34%(倾斜角度θ≈18.8°)时,虽然本文模式泥沙体积浓度值均较高桥模式为高,惟两模式对实测资料点的变化趋势均能掌握;
2.当渠槽坡度tanθ>34%之后,两模式的走向趋势则完全不同。高桥模式呈向上趋势,只要坡度稍有变动,泥沙体积浓度就会快速地升降,不仅无法收敛在静止床面土砂之最大泥沙体积浓度Cm值,甚至有大于1.0的情形产生,但从定义得知,泥沙体积浓度决不可能大于1.0。据此,高桥爰引用一限制条件,认为泥石流泥沙体积浓度最大值不得大于0.9Cm,即Cd≤0.9Cm,以确保其理论曲线之合理性。
3.反观本文曲线在渠槽坡度tanθ≥34%之后,泥沙体积浓度随着渠槽坡度的增加,呈上凸状(convex curve)而渐趋平缓,并趋近于Cd≈0.9Cm,即使在较大的渠槽坡度下,也不会产生Cd≥1的不合理结果,且与高桥实测资料的变化趋势吻合,具高度相关性,而优于高桥模式。同时,由曲线趋势变化亦可得知,除了必须排除tanθ≠tanα的特殊情况外,对于tanθ>tanα及tanθ<tanα的溪床状况亦可适用,较高桥公式具有更为宽广的适用区间。
|
|
图5 泥石流先端部泥沙体积浓度?与溪床坡度之比较 | 图6 泥石流整体平均泥沙体积浓度与溪床坡度之比较 |
3.2 模式参数验证
运用高桥渠槽实测资料取得了综合系数ξ=0.1的结果,使本文所提出泥石流平衡泥沙体积浓度之半经验公式得以建立,惟其通用性仍有待讨论。因此,本研究进一步采用欧国强[6]渠槽试验成果来进行模式参数之验证。欧国强系于宽7.5cm、深14cm及长100cm之活动水槽上,铺以厚度3cm之均匀土砂(平均粒径dm=5.0mm、堆积土砂泥沙体积浓度Cm=0.604、静摩擦角φ=38°~41°、砂砾密度ρs=2.48g/cm3),分别采用qw=22.22、33.33、44.44及55.56g/cm3等单宽流量,以及?θ=15°、20°、25°和30°等渠槽坡度进行试验(参见表1),同时量取自渠槽下游端出口流出的全部土砂(包括先端部及后续部)的泥沙体积浓度。如图6所示,为由欧氏通过渠槽试验实测泥石流整体平均泥沙体积浓度随渠槽坡度之分布状况。
根据欧国强实验材料条件得知,取堆积土砂最大泥沙体积浓度Cm=0.604、动摩擦系数tanα=0.32、砂砾密度ρs=2.48g/cm3、水体密度ρ=1.0g/cm3和综合系数ξ=0.1等资料分别代入(16)、(17)及(15)等式,可得泥沙体积浓度之理论曲线,并与高桥理论曲线和欧国强经验曲线及其实测数据一并绘于图6中进行比较分析。图中显示,除了高桥理论曲线完全偏离资料点之趋势外,本文模式不论在趋势上或与资料点的相关性上,均较欧国强的实验曲线为佳,尤其是在坡度tanθ<46.6%(θ≈25°)的渠槽状况,几乎掌握了实测点的变化趋势,对于不同坡度下的泥沙体积浓度值,确实可以较好地模拟。 综合以上讨论得知,高桥理论模式和欧国强经验公式都仅适用于个别的实验条件,不具通用特性,而本文模式虽然存在一待定参数,惟经检定和验证过程证实,当综合系数ξ=0.1时,不仅适用于推估先端部泥沙体积浓度,也可据以模拟整体平均泥沙体积浓度之变化趋势,且与实测资料点间的相关性均较高桥理论模式和欧国强经验公式为佳,显示本文模式可以较好地模拟泥石流泥沙体积浓度随着溪床坡度之变化。
4 纵剖面泥沙体积浓度分布
4.1 概述
纵剖面泥沙体积浓度分布系描述流体内部不同高度泥沙体积浓度的变化,它是泥石流运动机构的重要参数,密切影响着泥石流之运动行为。然而,泥石流泥沙颗粒含量极高,在动过程中颗粒间的相互碰撞和摩擦具有高度的随机特性,使得在纵剖面上泥沙体积浓度的分布情形,很难透过单纯的物理模型来模拟其随机的变化趋势。因此,本文拟试着采用最大熵原理(maximum entropy principle)推导其纵剖面泥沙体积浓度之分布模式,并引入前面已被建立的平衡泥沙体积浓度公式[即(15)式],以建构泥石流纵剖面泥沙体积浓度之分布式。
最大熵原理系源自于热力学第二定律,惟自从申农[7]将它定义的不确定性也称为熵后,熵原理在各个领域,尤其是科学领域得到了广泛的应用。其中,在序率水力学方面的研究,邱照淋[8~12]自1978年起陆续应用最大熵原理处理管流和明渠流的相关问题,例如纵剖面速度分布、平均流速、流量、剪应力分布和一般挟沙水流悬浮质泥沙浓度分布等,而陈昶宪[13]也利用最大熵原理来模拟陡坡浅层水流的速度分布,惟对于泥石流这种具有高泥沙含量的流体,则一直未被。然而,钱宁[14]认为泥石流运动具有推移质的一般特性,属于水力学之一环,即使在浓度尺度、浓度分布特性、边界条件……等方面,泥石流异于一般挟沙水流,惟其运动行为机制自应遵循水力学上的共同规律,故以最大熵原理来解决泥石流的浓度分布问题,按邱照淋的研究经验及成果是值得尝试发展。
4.2 模式推导
根据机率理论,当泥石流处于稳定均匀状态时,任意水深y处与其所代表的泥沙体积浓度C间存在着一对一的函数关系,可表为
C=f(y) | (21) |
其中 |
|
Ch≤C≤Cm | (22) |
0≤y≤h0 | (23) |
式中 Ch=泥石流液面的泥沙体积浓度;h0=全水深。由于任何大于水深y的泥沙体积浓度均小于C,故小于或等于C值的机率为(h0-y)/h0,表为累积机率分布函数可写为
F(C)=h0-y/h0 | (24) |
依定义得知,机率密度函数可表为
p(C)=dF(C)/dC=dF(C)/dydy/dC=-(h0dC/dy)-1 | (25) |
已知泥沙体积浓度统计上的期望值(即平均值)为一有限值Cd,故上式应满足
| (26) |
| (27) |
两限制式。同时,引入资讯熵(information entropy)理论[7]
| (28) |
并采用最大熵原理处理(28)、(27)及(26)等式,可得
| (29) |
式中λ1及λ2为拉格仑琴乘子(Lagrange multipliers)。由上式可得泥沙体积浓度的机率密度函数表示式为
p(C)=eλ1-1eλ2C | (30) |
将上式代入式(26)可得
eλ1-1=λ2/eλ2Cm-eλ2Ch | (31) |
同时,已知床面上(即y=0)泥沙体积浓度C=Cm的边界条件,求解式(25)及式(30)式联立之一阶微分方程式,可得任意水深处之泥沙体积浓度为
C/Cm=1/Tln[eT+(eTCh/Cm-eT)y/h0] | (32) |
| 上式即为二维泥石流纵剖面泥沙体积浓度分布方程式。式中,熵系数T=λ2Cm且T≠0。如图7为表熵系数T值和纵剖面泥沙体积浓度之关系。图中,当给定边界条件时,纵剖面泥沙体积浓度随熵系数T值增加而越趋均匀,显示熵系数T值与纵剖面平均泥沙体积浓度相关,故将式(30)及式(32)代入式(27)中,已知边界条件(1)当y=0时,C=Cm;(2)当y=ho时,C=Ch,经积分可得平均(或平衡)泥沙体积浓度公式为
|
式中 Cd=平衡泥沙体积浓度。因此,当溪床表面和泥石流液面的泥沙体积浓度为已知时,由上式联立式(15)、或式(3)、或式(5)等不同研究者的平衡泥沙体积浓度公式,即可求得熵系数?T?,进而可获得其纵剖面泥沙体积浓度之分布式。
4.3 模式验证
本文系采用Tsubaki[15]三组试验资料来进行泥石流纵剖面泥沙体积浓度分布式[即式(32)]之验证。Tsubaki系于渠槽中使用Cm=0.59、静摩擦角φ=38°和ρs=1.6g/cm3的轻量材料,在渠槽倾角分别为5°、9°及11.5°等条件下进行试验,并量测纵剖面上不同深度处的泥沙体积浓度,如图8所示。这样,将Cm=0.59、tanα=0.32、ρs=1.6g/cm3、ρ=1.0g/cm3和综合系数ξ=0.1等已知数据分别代入式(2)、式(5)及式(15),求得各组平衡泥沙体积浓度后,接着将平衡泥沙体积浓度代入式(41)估算熵系数T[参见表2],再按表中熵系数T分别代入式(32)中,即可得各平衡泥沙体积浓度公式在不同渠槽坡度下的纵剖面泥沙体积浓度分布曲线,如图8所示。图中,除了欧国强以整体平均泥沙体积浓度公式所推估纵剖面泥沙体积浓度分布曲线与实测点的关系有显著偏离外,本文模式及高桥模式的模拟结果虽然有些差异,但都能反应出纵剖面浓度分布的趋势。
|
|
图8 纵剖面泥沙体积浓度分布曲线 | 图9 纵剖面泥沙体积浓度分布曲线 |
另外,将本文所提出纵剖面泥沙体积浓度分布之理论曲线,与Tsubaki和Chen[16]两理论曲线进行比较。如图9所示。由图中各曲线与实测点间之关系得知,本文理论曲线与实测点间的密合程度,较Tsubaki为佳,而与Chen比较,除了在渠槽倾角9°时之曲线走向趋势略有不同外,在5°及11.5°时均相近似。然而,本文模式中仅存的待定系数(熵系数T)系可由理论直接求得,较之Chen纵剖面泥沙体积浓度分布公式中存在一个必须凭藉试算方式始能决定的待定系数而言,本文所发展出的纵剖面泥沙体积浓度分布模式在实际的应用上还是较具优势的。
表2 Tsubaki et al实验资料成果一览表
Summary of computed data for experiment of Tsubaki et al.
|
|
|
| 式(8) | 式(11) | 式(23) | |||
Run | θ | C* | θ | ||||||
No. | (°) |
| (°) | Cd | T | Cd | T | Cd | T |
1 | 38 | 0.59 | 5.0 | 0.21 | -1.8 | 0.06 | -9.5 | 0.27 | -0.55 |
2 | 38 | 0.59 | 9.0 | 0.42 | 3.0 | 0.14 | -3.96 | 0.39 | 2.15 |
3 | 38 | 0.59 | 11.5 | 0.55 | 16.0 | 0.18 | -2.65 | 0.43 | 3.2 |
总的来说,不论是泥石流纵剖面泥沙体积浓度之分布模式[(32)式],或是将平衡泥沙体积浓度公式[(15)式]应用于推估纵剖面泥沙体积浓度的分布,本文模式经其他研究者的实测资料证实,均能获得良好的模拟效果,可以具体表征泥石流平衡泥沙体积浓度和纵剖面泥沙体积浓度分布两个重要参量的变化规律。
5 结论
本文以水流泥沙颗粒间相互碰撞所产生的粒间离散剪应力和剪阻力,配合溪床面泥沙颗粒在起动过程的临界剪应力,在力学体系相互平衡的条件下,建立了泥石流平衡泥沙体积浓度之半经验公式。经由高桥及欧国强两研究者之实测资料进行检定和验证得知,本文模式可分别模拟泥石流先端部和整体平均泥沙体积浓度,并较高桥及欧国强的研究成果,更能反应出泥沙体积浓度与溪床坡度间之变化规律。兹将重要成果归纳如下。
1.经高桥实测资料检定结果显示,当综合系数ξ=0.1时,本文模式随着渠槽坡度的上升,曲线呈上凸状而渐趋平缓的变化,并趋近0.9Cm值,即使在较高的坡度下亦能适用。同时,与高桥实测资料点间之密合情形相当良好,而优于高桥模式。
2.根据高桥实测资料检定后,取综合系数ξ=0.1及欧国强之实验资料进行模式验证。结果显示,本文模式与欧国强实测点间之关系,不论在趋势变化上或相关性上均较欧国强为佳。
同时,将平衡泥沙体积浓度的半经验公式,进一步与最大熵原理相结合,本研究建立了泥石流纵剖面泥沙体积浓度之分布方程式,经Tsubaki三组实测资料验证结果显示,可以较好地反映出浓度分布的变化趋势。另外,与Tsubaki和Chen(1988)之纵剖面泥沙体积浓度分布理论曲线比较得知,本文理论曲线与实测点间的吻合程度,较Tsubaki为佳,而与Chen相近似,惟本文理论模式中的熵系数T为由理论直接求得,较Chen纵剖面泥沙体积浓度分布公式中存在一个必须凭藉试算方式始能决定的待定系数而言,本文理论模式具有高度的实用性。
参 考 文 献
[1] Bagnold R.A."Experiments on a gravity-free dispersion of large solid spheres in a Newtonian fluid under shear,” Proc. Roy. Soc. London, Series A, 225, pp.49-63(1954).
[2] Takahashi, T.,Debris flow, Monograph Series of IAHR, A. A. Balkema, Rotterdam, The Netherlands, pp.26-27(1991).
[3] Takahashi, T.,“Mechanical characteristics of debris flow,” J.of Hydr., ASCE, 104(HY8), 1153-1169(1978).
[4] Chen, C. L.,“Generalized viscoplastic modeling of debris flow,” J.of Hydr. Engrg., ASCE, Vol.114(3), pp.237-258(1988).
[5] 连惠邦,苏重光,江永哲。泥石流流体机构之研究。中华学报,第25卷第3期,第151-160页(1994).
[6] 欧国强,水山高久。泥石流平均浓度の予测.新砂防,第195号,第9-13页(1994).
[7] 张学文,马力。熵气象学。北京:新华书局总店科技发行所,第68-81页(1992).
[8] .Chiu, C. L.,“Entropy and probability concepts in hydraulics,” J. of Hydr. Engrg., ASCE, Vol.113(5), pp.583-600 (1987).
[9] Chiu, C. L., “Entropy and 2-D velocity distribution in open-channel flow,” J. of Hydr. Engrg., ASCE, Vol.114(7), pp.738-756 (1988).
[10] Chiu, C. L.,“Velocity distribution in open-channel flow,” J.of Hydr. Engrg., ASCE, Vol.115(5), pp.576-594 (1989).
[11] Chiu, C. L.,“Application of entropy concept in open-channel flow study,” J. of Hydr. Engrg., ASCE, Vol.117(5), pp.615-628 (1991).
[12] 邱照淋,林国峰。以序率方法处理一些水力学问题。行政院国家委员会,1992.
[13] 陈昶宪,连惠邦,林昆志。 利用最大熵原理推估浅水明渠流之流速分布。中华学报。第二十四卷,第二期,第111-117页(1993).
[14] 钱宁。高含沙水流运动。清华大学系泥沙研究室,北京:清华大学出版社,第150-160页,1989.
[15] Tsubaki, T., Hashimoto, H. and Suetsugi, T., “Grain stresses and flow properties of debris flow,” Proc. of the Japanese Soc. of Civ Engrs., 317, pp.79-91 (1982).(in Japanese).?[16] Chen, C. L., “General solutions for viscoplastic debris flow,”J. of Hydr. Engrg., ASCE, Vol.114(3), pp.259-281 (1988).








