低温热水地板辐射热采暖系统工程设计与施工
摘要:本文从低温热水地板辐射采暖的及材料的应用,综合的从设计方法到地热施工以及运行调试等方面进行了论述,并结合具体工程进行说明地热采暖的注意问题等。
关键词:辐射采暖 施工 调试
本文从低温热水地板辐射采暖的发展及材料的应用,综合的从设计方法到地热施工以及运行调试等方面进行了论述,并结合具体工程进行说明地热采暖的注意问题等。
热水塑料管在70年代,我国还处于研制阶段,近年来在国内外已广泛的得到了应用.由于塑料管的耐压,耐热,消音降噪,保温性能好,水阻力小,抗老化和抗冲击等方面性能均符合使用要求.目前塑料管已广泛用于各类高层建筑,一般住宅,高级别墅,办公楼,宾馆,商场,场馆,会堂等各类建筑物内的冷热水管系统及低温热水地板辐射采暖系统。
低温热水地板辐射采暖系统,是一种将加热管埋置于混凝土埋管层中,让40~60℃的低温热水在管内循环流动,加热整个地面,使表面温度上升25~29℃左右,然后通过辐射和部分对流供暖方式向室内散热的一种供暖方式。
目前市场上使用的地热管材大多品种为PPC和PEX交联聚乙烯管低温地板辐射供暖器材,其产品具有使用寿命长,高效节能,运行费用低,温度均匀,人体感觉舒适,室内卫生等优点,特别是解决了大跨度和矮窗式建筑物的采暖需要,如在韩国普及率已达70%以上.在我们国内的吉林省也早已使用.在沈阳市宏伟新都40000平方米的高档住宅中也得到了大面积的推广应用,通过使用业主反映非常好。
低温热水地板辐射采暖系统,与传统散热器对流供暖方式相比,它具有许多显著的特点,热效率提高20%~30%左右,即可以节能20%~30%能耗,施工方便简单易操作,可缩短施工时间,可节约施工人工费成本,施工费用是镀锌钢管的60%,因而极具有实用性. PPC和PEX管质地柔软施工方便,由于自重轻,保管,搬运,安装均十分方便,管道连接十分方便,可与各类管件及阀门连接.任何人都可用简单的工具进行安装操作.长期使用温度范围零下70度到零上110度,爆破压力每平方厘米60公斤.
还具有很好的施工性和半永久性的寿命,最适合用作建筑物内低温热水地板辐射采暖系统的配管材料,由于地板受热后散热面积较大而且放热均匀,形成一个庞大的热板,使之传热快,稳定性好,蓄热时间长,房间温度均匀,温度梯度小,人的舒适的环境,人居住时脚下不受凉,对身体健康创造一个舒适的环境。见右下图所示传统暖气对流散热与地热辐射的室温比较图。

PPC和PEX适用
于各类建筑物:用于
住宅,别墅,写字楼
宾馆,银行,,
养老院,幼儿园,超
级市场,剧场,博物馆,
游泳馆动植物园的地热
采暖及冷热水供应。
能很方便的实现国家节能标准提出的“按户计量,分户调温”的要求。
在建立同样舒适条件的前提下,用地面辐射采暖在保证同等条件的舒适程度下,房间的设计温度比对流采暖可降低2-3℃,从而节省采暖能耗。室内沿高度方向温度分布比较均匀,温度梯度小。甚至当地板温度比较高,房间也比较高时,室内温度是下高上低减少无效热损失。根据个别房间或区域间使用条件的变化,可以调解有关配水器各支环路调节阀的开度。易于安装自动调节设施,可最大限度调节。使用塑料管本身就具有节能意义,可以节省金属材料。在所有材料加工过程中都需要能量,但生产塑料的费用比生产金属的费用更经济,为生产1dm3 材料所需要能(公斤石油当量计)以塑料,钢,铜,铝比较,则塑料最低。
由于有辐射温度和对流温度的双重效应,因而形成了真正符合
人体舒适要求的热环境。如左图所示,地面温度高于呼吸线空气度,它提供的热量在人的脚部较强,头部温和,这正符合 人体足部血液循环最差头部温 度较高的特点,给人以脚暖头凉 的舒适感,即体态舒适度高。在 特定条件下,与对流散热器采暖比,室内相对湿度高,不显得过于干燥,易于根据不同的舒适要求,对各别用室,区间进行室温调节。为达到人体舒适卫生要求的热环境,室内地表平均温度宜采用下列数值:经常有人停留的地面24℃~26℃。无人停留的地面35℃~40℃。短期有人停留的地面为28℃~30℃。 
![]()
采用地热式采暖方式后,传统的暖气片散热器被取消。不需要在室内布置散热设备及连接的管道,既不占建筑面积又可使房间分隔及家具摆设随意灵活。住户得到的是有效的使用面积,住户也不必为暖气片的外露而进行装修。这样每个房间每组暖气片占用面积约0.35m×3.0m=1.05m2, 按现行市场商品房价格平均2500元/m2,住户为有效的可利用面积可节省投资约2600元。这样的房间布局,使用相对要方便很多。另一方面,传统暖气片装修费用每居室每组约为: 3m×60元/m=180元,人工费:2×60元=120元。合计装修费用最低为300元。总计:为传统暖气片所付出的费用为每居室3000元左右,如果按每户三居室或二居室计算,每户为此项费用支出约为6000-9000元左右。
采用地热式采暖方式热源选择余地宽阔,独立或区域的集中热水供热锅炉系统均可。出于特殊情况做出选择,它可以用在没有集中供热的场合,很多情况,可以借助集中供热加装换热器,还可综合利用采暖,空调回水,余热用水及地热水等。地板辐射采暖系统的热媒必须采用低温热水。最高供水温度不宜超过75℃,供回水温差在8℃~5℃为好,设计时可根据具体情况选择适宜的供回水温差,供回水平均温度宜控制在35℃~55℃。
一、低温热水地板辐射采暖系统的设计
低温热水地板辐射采暖系统的设计与传统的采暖方式基本一样,下面叙述一下设计步骤:
1.先应根据《采暖通风与空气调节设计规范》的规定进行基本耗热量计算,并按辐射采暖特点进行校正。
2.算出所需地热房间的单位耗热指标。
根据房间的地板表面使用材料的不同查《地面单位面积散热表》见附表一、附表二确定其配管间距和地板表面温度。采暖地面构造厚度应大于80毫米,管间距在150~300毫米为宜,沿围护结构外墙敷设的热管距外墙内表面70~100毫米。
3.进行供热房间管道的布置,一般每户集中设置一组分水器,按房间数确定支环路个数,卫生间餐厅厨房可为一环,如房间面积较大时,可分多环。敷设管形式可采用回字形或S字形,通过沈阳市宏伟新都及其大量工程实践证明,回形比S形敷设方式要好一些,因回形冷热水相间,采暖均匀效果好,弯曲半径大,易于施工。而S形弯曲半径小,宜用于配管间距较大、面积较大的房间采用。为了使每环的总水阻力控制在800~1500mmH2O,每环长应控制在60~100米,最长不得超过120米。尽量使每环长度相等。可参见附图三的实际工程范例。
4.根据分支环路的个数选择适宜的分水器型号。
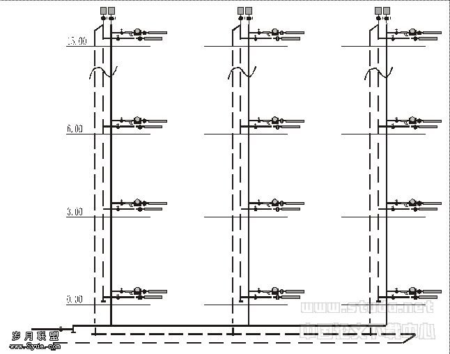
5.采暖系统可采用同程式,即系统布置成水平和垂直均同程式.具体供水方式为上供下回,下供下回双管系统.除地面加热用PEX、PPC管外,系统其他部分为普通焊接钢管。采用双管系统可实现采暖按户分环,分室分控的目的。见附图二。
6.系统的水力计算和水力平衡计算可按《采暖通风与空气调节设计手册》的有关规定进行。
7.当采暖面积超过40㎡时,应设伸缩缝,地面短边长度≤6米时沿长边每隔7米设一道伸缩缝,其宽度为5~8毫米,在缝中应填充弹性膨胀膏。管道穿越过梁及门口、墙时,应设套管。
二、低温热水地板辐射采暖的材料的选择:
地板辐射采暖的保温材料一般宜选用聚乙稀苯板容重要求在15㎏/m3~25㎏/m3,导热系数小,保温效果好的产品,而且能减轻楼板的荷载,其厚度在20~25毫米时,经计算完全达到隔热目的。
铝箔加筋纸,其产品具有防潮、防水、向上反射热辐射的作用,但有的施工单位不设,为减少造价。建议不应取消此道工序,因取消后,热量还会沿着苯板连接缝隙向下传导,造成不必要的热量损失.
地热管材的选用,可采用PEX交联聚乙稀管和PPC改性聚丙稀管材为宜。其管材的物理特性见附表三。
分水器的选择,目前大多采用国产和南韩的较多,这类产品质量基本能达到使用要求。在分水器进水端设的Y型过滤器应用铜质的较好,分水器的型号见附表四,分水器的安装见附图一。
另外还有在敷设管道所用的固定U形管卡,此管卡的材质最好选用与管材同材质的材料。
低温热水地板辐射采暖系统的管道敷设,在直线段每隔600毫米设一固定卡,敷设S形管道时,在弯曲部分应设叁处固定卡。一般PEX管材按设计尺寸敷设一个环路一根管,在地下不能有接头,如必须进行接头时,可采用进口地热管专用接头管件,此专用接头管件是利用PEX管的材料记忆特性来将管涨接一起的。永不存在漏水的事情发生。另外值得一提的是,此接头管件解决PEX管材在生产过程中的定尺生产和施工过程中的损耗。这将大大降低厂商生产成本和施工费用。决不可用市场外卖的铜质管件进行连接,笔者在实际工程中,因人为等因素将管损坏后,用铜质管件连接,发现其连接的管道,均存在不同程度的漏水。给用户造成经济损失很大,经分析得出原因是因塑料管与铜管件间的膨胀量及收缩时间率的不同导致漏水。而采用专用接头管件时,就没有发生漏水现象。
三、低温热水地板辐射采暖系统的施工:
应参照各地现行的《民用建筑给水供热水地板辐射采暖用塑料管及铝塑管设计与施工验收暂行规定》及暖通专业有关技术标准,以及建设单位要求和设计提供的有关条件进行施工。
管材,管件及其它材料应具有检测报告,产品检验合格证并标明生产厂家,材料规格,检查管材的管壁是否光滑平整,无气泡无裂口无明显的划痕和凹陷,其它材料应按有关的检查规定进行检查。
地热施工构造图见右下图:

施工作业流程为:施工前的准备,地板供暖工程施工前要求地面平整,无任何凹凸不平及沙石碎块,钢筋头等现象。因此,要求土建方做水泥沙浆找平层,将地面清扫干净及干燥;有足够的施工做业面;封闭其现场;铺设保温材料,要求平整,无缝隙;铺设铝箔纸并用铝箔胶带固定,也要求平整;按设计图要求铺设地热盘管并用卡具固定;安装分水器及控制系统的安装,要求端正,牢固;进行水压试验,试验压力0.6MPA,十分钟内压降不超0.05MPA为合格。做膨胀缝及边角保温。带压铺豆石混凝土并找平层(由土建单位施工混凝土地面)。豆石混凝土的强度不应低于C20,加入防龟裂乳剂是增强豆石混凝土层抗压强度及防止龟裂、老化。继续封闭现场,并在现场标明注意事项直到地面交付其它使用方。
注意在打压试验时,为使地热管不长时间暴露,请有关单位及时验收。回填混凝土后,其它单位不能在采暖地面打洞或重载,若重载(含搭设脚手架)应铺设跳板。浇灌混凝土时,不要使砂浆进入保温层及沿墙隔热材料的接缝处。自地热管铺设至混凝土最终形成强度前,应进行成品保护,应禁止穿硬底鞋在盘管上面行走,堆放材料及设备,以免损伤管材。
四、低温热水地板辐射采暖系统的运行调试:
系统调试运行前,应首先对管道进行检查及冲洗,冲洗过程中应采取措施,防止异物进入系统中,同时对系统进行水力平衡调整。
向低温热水地板辐射采暖系统供水,供水温度应由30℃低温渐渐升至55℃,不允许短时间骤然而温升。具体作法以30℃水温循环一天,然后日升温5℃之至55℃,然后按设计要求进行正常运行。
调试检查供暖热媒温度控制系统,确保低温热水地板辐射采暖系统在设计允许温度范围内工作。在非采暖期运行调整时,可用清洁水代替以检查低温热水地板辐射采暖系统水力特性,待采暖开始重复上述调试工作。夏季可向系统内充满水进行养护。
本文是笔者仅对低温热水地板辐射采暖系统的组织和设计施工及运行管理的一点体会,随着低温热水地板辐射热采暖的发展及其完善,使这种采暖方式的更加能倍受越来越多的人们所关注,已有不少的单位和人员对其表示了兴趣和积极推广应用的热情。再加上人们对环境质量标准越来越高的要求,都必将推动这种采暖方式在我国获得迅速发展和广泛的应用。
:
《采暖通风与空气调节设计规范》 GBJ19
《采暖通风与空气调节设计手册》中建出版社
《改性聚丙烯(PP-C)管地面辐射采暖、建筑给水及热水供应技术标准》
(试行) DB22/166-1998 吉林省标准
《沈阳市民用建筑给水、供热水、地板辐射采暖用塑料管及铝塑管设
计与施工验收暂行规定》 1999.6 沈阳标准
《建筑给水、供热水、采暖用PP-C管道设计与施工验收规程》
IRBI 003-1997 建设部居住建筑与设备研究所编
《交联聚乙烯(PEX)管材》 Q/OAFS 03-1999 上海企标
秦皇岛住友新型建材有限公司产品及技术手册
附表一: 地面单位面积散热表
地板表面使用材料及热阻系数:瓷砖、理石、水泥面类 RX=0.02㎡K/W
| 平均温度℃ | 室内温度℃ | 配管间距(ф20×1.9) ㎜ | |||||||||||
| 50 | 100 | 150 | 200 | 250 | 300 | ||||||||
| 每平方米所需管子长度 M/㎡ | |||||||||||||
| 20 | 10 | 6.77 | 5 | 4 | 3.4 | ||||||||
| 1 | 2 | 1 单位面积散热量 W/㎡; 2地板表面温度℃ | |||||||||||
| 38 | 10 | 161.4 | 24.4 | 146.1 | 23.0 | 173.5 | 22.3 | 113.0 | 20.1 | 107.5 | 19.6 | 94.2 | 18.4 |
| 15 | 132.5 | 25.8 | 120.0 | 25.7 | 112.9 | 25.1 | 92.8 | 23.3 | 88.3 | 22.9 | 77.4 | 21.9 | |
| 20 | 103.7 | 29.3 | 93.9 | 28.4 | 88.4 | 27.9 | 72.6 | 25.5 | 69.1 | 25.2 | 60.5 | 25.4 | |
| 22 | 92.2 | 30.2 | 83.5 | 29.5 | 78.5 | 29.0 | 64.5 | 37.8 | 61.4 | 27.5 | 53.8 | 25.3 | |
| 24 | 80.7 | 31.2 | 73.1 | 30.5 | 68.7 | 30.0 | 56.5 | 29.0 | 53.7 | 28.8 | 47.1 | 28.2 | |
| 28 | 52.8 | 33.2 | 52.2 | 32.7 | 49.0 | 32.4 | 40.4 | 31.6 | 38.4 | 31.4 | 33.6 | 31.0 | |
| 40 | 10 | 172.9 | 25.4 | 156.5 | 24.0 | 147.3 | 23.1 | 121.1 | 20.8 | 115.1 | 20.3 | 100.9 | 19.0 |
| 15 | 144.1 | 27.9 | 130.5 | 25.6 | 122.7 | 26.0 | 100.9 | 24.0 | 95.9 | 23.6 | 84.1 | 22.5 | |
| 20 | 115.3 | 30.3 | 104.4 | 29.3 | 98.2 | 28.8 | 80.7 | 27.4 | 76.7 | 25.9 | 67.3 | 26.0 | |
| 22 | 103.7 | 31.3 | 93.9 | 30.4 | 88.4 | 29.9 | 72.6 | 28.5 | 69.1 | 28.2 | 60.5 | 27.4 | |
| 24 | 92.2 | 32.2 | 83.5 | 31.5 | 78.5 | 31.0 | 64.5 | 29.8 | 61.4 | 29.5 | 53.8 | 28.8 | |
| 28 | 69.2 | 34.2 | 62.6 | 33.6 | 58.9 | 33.3 | 48.5 | 32.3 | 46.0 | 32.1 | 40.4 | 31.6 | |
| 42 | 10 | 184.5 | 25.5 | 167.0 | 24.9 | 157.1 | 24.0 | 129.2 | 21.5 | 122.7 | 21.0 | 107.6 | 19.5 |
| 15 | 155.6 | 28.9 | 140.9 | 27.6 | 132.5 | 26.8 | 109.0 | 24.7 | 103.5 | 24.2 | 90.8 | 23.1 | |
| 20 | 125.8 | 31.3 | 114.8 | 30.3 | 108.0 | 29.6 | 88.8 | 27.9 | 84.4 | 27.5 | 74.0 | 26.6 | |
| 22 | 115.3 | 32.3 | 104.8 | 31.3 | 98.2 | 30.6 | 80.7 | 29.2 | 78.7 | 28.9 | 67.3 | 28.0 | |
| 24 | 103.7 | 33.3 | 93.9 | 32.4 | 88.4 | 31.9 | 72.7 | 30.5 | 69.1 | 30.2 | 60.5 | 29.4 | |
| 28 | 80.7 | 35.2 | 73.1 | 34.5 | 68.7 | 34.1 | 56.9 | 33.1 | 53.7 | 32.8 | 47.1 | 32.2 | |
| 45 | 10 | 201.7 | 28.0 | 182.6 | 25.3 | 171.8 | 25.3 | 141.3 | 22.6 | 134.3 | 22.0 | 117.7 | 20.5 |
| 15 | 172.9 | 30.4 | 156.5 | 29.0 | 147.3 | 28.2 | 121.1 | 25.8 | 115.1 | 25.3 | 100.9 | 24.0 | |
| 20 | 144.1 | 32.9 | 130.5 | 31.6 | 122.7 | 30.6 | 100.9 | 29.0 | 95.9 | 28.5 | 84.1 | 27.5 | |
| 22 | 132.5 | 33.9 | 120.0 | 32.7 | 112.9 | 32.1 | 92.8 | 30.3 | 88.3 | 29.9 | 77.4 | 28.9 | |
| 24 | 127.0 | 34.6 | 109.5 | 33.8 | 103.1 | 33.2 | 84.7 | 31.6 | 90.5 | 31.2 | 70.6 | 30.3 | |
| 28 | 98.0 | 36.8 | 88.7 | 35.9 | 83.5 | 35.5 | 68.5 | 34.1 | 65.2 | 33.8 | 57.2 | 33.1 | |
| 47 | 10 | 213.3 | 29.0 | 193.1 | 27.2 | 181.6 | 25.3 | 149.4 | 23.3 | 141.9 | 22.7 | 124.5 | 21.1 |
| 15 | 184.5 | 31.5 | 187.0 | 29.9 | 157.1 | 29.0 | 129.2 | 25.5 | 122.7 | 26.0 | 107.6 | 24.6 | |
| 20 | 155.5 | 33.9 | 140.9 | 32.6 | 132.5 | 37.8 | 109.0 | 29.7 | 183.5 | 29.2 | 90.8 | 28.1 | |
| 22 | 144.1 | 34.9 | 130.5 | 33.6 | 122.7 | 33.0 | 100.9 | 37.0 | 95.9 | 30.6 | 84.1 | 29.5 | |
| 24 | 132.3 | 35.8 | 120.0 | 34.7 | 112.9 | 34.1 | 92.8 | 32.3 | 88.3 | 31.9 | 77.4 | 30.9 | |
| 28 | 109.5 | 37.8 | 99.2 | 36.9 | 93.3 | 36.3 | 76.7 | 34.9 | 72.9 | 34.5 | 63.9 | 33.7 | |
| 50 | 10 | 230.5 | 30.5 | 208.7 | 28.6 | 196.4 | 27.5 | 161.5 | 24.4 | 153.5 | 23.7 | 134.5 | 22.0 |
| 15 | 201.7 | 33.0 | 182.5 | 31.3 | 171.8 | 30.3 | 141.3 | 27.6 | 134.3 | 27.0 | 117.7 | 25.5 | |
| 20 | 172.9 | 35.4 | 156.5 | 34.0 | 147.3 | 33.1 | 121.3 | 30.6 | 115.1 | 30.3 | 100.9 | 29.0 | |
| 22 | 167.4 | 36.4 | 146.1 | 35.0 | 137.5 | 34.3 | 113.0 | 32.1 | 107.5 | 31.8 | 94.2 | 30.4 | |
| 24 | 149.3 | 37.4 | 135.6 | 36.1 | 127.6 | 35.4 | 104.9 | 33.4 | 99.7 | 32.9 | 87.5 | 38.0 | |
| 28 | 126.8 | 39.3 | 114.8 | 38.3 | 108.0 | 37.6 | 88.8 | 35.9 | 84.4 | 35.5 | 74.0 | 34.6 | |
覆盖管子水泥地面厚度:60㎜此表摘与住友新型建材有限公司设计手册
附表二: 地面单位面积散热表
地板表面使用材料及热阻系数:木质地板、人造纤维类 RX=0.06㎡K/W
| 平均温度℃ | 室内温度℃ | 配管间距(ф20×1.9) ㎜ | ||||||||||||
| 50 | 100 | 150 | 200 | 250 | 300 | |||||||||
| 每平方米所需管子长度 M/㎡ | ||||||||||||||
| 20 | 10 | 6.70 | 5 | 4 | 3.4 | |||||||||
| 1 | 2 | 1 单位面积散热量 W/㎡; 2 地板表面温度℃ | ||||||||||||
| 38 | 10 | 142.0 | 22.7 | 128.6 | 21.5 | 121.0 | 20.8 | 99.4 | 18.9 | 94.6 | 18.4 | 82.9 | 17.4 | |
| 15 | 116.6 | 25.4 | 105.6 | 24.4 | 99.4 | 23.9 | 81.7 | 22.3 | 77.7 | 21.5 | 68.1 | 21.1 | ||
| 20 | 91.3 | 28.2 | 82.6 | 27.4 | 77.8 | 26.9 | 63.9 | 25.7 | 60.8 | 25.4 | 53.3 | 24.8 | ||
| 22 | 81.1 | 29.2 | 73.4 | 28.6 | 69.1 | 28.2 | 56.8 | 27.1 | 54.0 | 26.8 | 47.4 | 26.2 | ||
| 24 | 71.0 | 30.3 | 64.3 | 29.7 | 60.5 | 29.4 | 49.8 | 28.4 | 47.3 | 28.2 | 41.4 | 27.7 | ||
| 28 | 50.7 | 32.5 | 45.9 | 32.1 | 43.2 | 31.9 | 35.5 | 31.2 | 33.8 | 31.0 | 29.6 | 30.6 | ||
| 2540 | 10 | 152.2 | 23.6 | 137.8 | 22.3 | 129.6 | 21.6 | 106.6 | 19.5 | 101.3 | 19.0 | 88.8 | 17.9 | |
| 15 | 126.8 | 26.3 | 114.8 | 25.3 | 108.0 | 24.6 | 88.8 | 22.9 | 84.4 | 22.5 | 74.0 | 21.6 | ||
| 20 | 101.4 | 29.1 | 91.8 | 28.2 | 86.4 | 27.7 | 71.0 | 26.3 | 67.5 | 26.0 | 59.2 | 25.3 | ||
| 22 | 91.3 | 30.2 | 82.6 | 29.4 | 77.8 | 28.9 | 63.9 | 27.7 | 60.8 | 27.4 | 53.3 | 26.8 | ||
| 24 | 81.1 | 31.2 | 73.4 | 30.6 | 69.1 | 30.2 | 56.8 | 29.1 | 54.0 | 28.8 | 47.4 | 28.2 | ||
| 28 | 60.9 | 33.4 | 55.1 | 32.9 | 51.8 | 32.6 | 42.6 | 32.8 | 40.5 | 31.6 | 35.5 | 32.2 | ||
| 42 | 10 | 162.3 | 24.5 | 147.0 | 23.1 | 138.2 | 22.3 | 113.7 | 20.2 | 108.0 | 19.6 | 94.7 | 18.5 | |
| 15 | 137.0 | 27.2 | 124.0 | 26.1 | 116.6 | 15.4 | 95.9 | 23.6 | 91.1 | 23.1 | 79.9 | 22.1 | ||
| 20 | 111.6 | 30.0 | 101.0 | 29.0 | 95.0 | 28.5 | 78.2 | 27.0 | 84.2 | 26.6 | 65.1 | 25.8 | ||
| 22 | 101.4 | 31.1 | 91.8 | 30.2 | 86.4 | 29.7 | 71.0 | 28.3 | 67.5 | 28.0 | 59.2 | 27.3 | ||
| 24 | 91.3 | 32.2 | 82.6 | 31.4 | 77.8 | 30.9 | 64.0 | 29.7 | 60.8 | 29.4 | 53.3 | 28.8 | ||
| 28 | 71.0 | 34.4 | 64.3 | 33.7 | 60.5 | 33.4 | 49.8 | 32.2 | 47.3 | 32.2 | 41.4 | 31.7 | ||
| 45 | 10 | 177.5 | 25.9 | 160.7 | 24.4 | 151.2 | 23.5 | 124.3 | 21.1 | 118.2 | 20.6 | 105.6 | 19.3 | |
| 15 | 152.2 | 28.6 | 137.8 | 27.3 | 129.6 | 26.6 | 106.6 | 24.5 | 101.3 | 24.0 | 88.8 | 22.9 | ||
| 20 | 126.8 | 31.3 | 144.8 | 30.3 | 108.0 | 29.6 | 88.8 | 27.9 | 84.4 | 27.5 | 74.0 | 26.6 | ||
| 22 | 116.0 | 32.4 | 105.6 | 31.4 | 99.4 | 30.9 | 81.7 | 29.3 | 77.7 | 28.9 | 68.1 | 28.1 | ||
| 24 | 106.5 | 33.3 | 96.4 | 32.6 | 90.7 | 32.1 | 74.6 | 30.7 | 70.9 | 30.3 | 62.2 | 29.6 | ||
| 28 | 86.2 | 35.7 | 78.1 | 35.0 | 73.4 | 34.6 | 60.4 | 33.4 | 57.4 | 33.1 | 50.3 | 32.5 | ||
| 47 | 10 | 187.7 | 26.8 | 166.9 | 25.2 | 159.8 | 24.3 | 131.4 | 21.7 | 124.9 | 21.2 | 109.5 | 19.8 | |
| 15 | 162.3 | 29.5 | 147.0 | 28.1 | 138.2 | 27.3 | 113.7 | 25.2 | 108.0 | 24.6 | 94.7 | 23.5 | ||
| 20 | 137.0 | 32.2 | 124.0 | 31.1 | 116.6 | 30.4 | 95.9 | 28.6 | 91.1 | 28.1 | 79.9 | 27.1 | ||
| 22 | 126.8 | 33.3 | 114.8 | 32.2 | 108.0 | 31.6 | 88.8 | 29.9 | 84.4 | 29.5 | 74.0 | 28.6 | ||
| 24 | 116.6 | 34.4 | 105.5 | 33.4 | 99.4 | 32.9 | 81.7 | 31.3 | 77.7 | 30.9 | 68.0 | 30.1 | ||
| 28 | 96.4 | 36.6 | 87.3 | 35.8 | 82.1 | 35.3 | 67.5 | 34.0 | 64.2 | 33.7 | 56.2 | 33.0 | ||
| 50 | 10 | 202.9 | 28.1 | 183.7 | 26.4 | 172.8 | 25.4 | 142.1 | 22.7 | 135.0 | 22.1 | 118.4 | 20.6 | |
| 15 | 177.5 | 30.8 | 160.7 | 29.4 | 151.2 | 28.5 | 124.3 | 26.1 | 118.0 | 25.6 | 103.6 | 24.3 | ||
| 20 | 152.2 | 33.6 | 137.8 | 32.2 | 129.6 | 31.6 | 106.6 | 29.5 | 101.3 | 29.0 | 88.8 | 27.9 | ||
| 22 | 142.0 | 34.7 | 128.6 | 33.5 | 121.0 | 32.8 | 99.4 | 30.9 | 94.6 | 30.4 | 82.9 | 29.4 | ||
| 24 | 131.8 | 35.8 | 119.4 | 34.7 | 112.3 | 34.0 | 92.3 | 32.2 | 87.8 | 31.8 | 77.0 | 30.9 | ||
| 28 | 111.6 | 38.0 | 101.0 | 37.0 | 95.0 | 36.5 | 78.2 | 35.0 | 74.2 | 34.6 | 65.0 | 33.8 | ||
覆盖管子水泥地面厚度:60㎜此表摘与住友新型建材有限公司设计手册
附表三 PEX管材的物理特性
| 项 目 | 参 数 | 单 位 | 参照标准 | 规 格 | |
| 密 度 | 0.938 | G/M3 | DIN53465 DIN4725 | Ф14×1.9 | |
| 抗 拉强 度 | 20℃ | 19~26 | N/MM2 | Ф16×2.0 | |
| 100℃ | 9~13 | Ф20×2.0 | |||
| 断裂延伸率 | 20℃ | 350~500 | % | Ф25×2.4 | |
| 100℃ | 500~700 | ||||
| 冲 击强 度 | 20℃ | 不断裂 | K/MM2 | ||
| -140℃ | 不断裂 | ||||
| 与钢材摩擦系数 | 0.08~0.1 | ||||
| 温 度 范 围 | -70~+110 | ℃ | |||
| 导 热 系 数 | 0.35 | W/M℃ | |||
| 工 作 压 力 | 12.5 | ㎏/CM2 | |||
附表四 分水器规格型号
| 型号规格 | FPQ-3 | FPQ-4 | FPQ-5 | FPQ-6 | FPQ-7 | FPQ-8 |
| 分支个数 | 3 | 4 | 5 | 6 | 7 | 8 |
| 长度A(㎜) | 220 | 280 | 340 | 400 | 460 | 520 |
附图一 分水器外型及安装图

图中:1、回水总管 2、回水管 3、送水管 4、铜质球阀 5、Y形过滤器 6、计量表(热表)
7、压力表 8、温度计 9、活接头 10、排气阀门 11、地热层 12、结构层 13、分水器
附图二 配管系统图

注:
采暖系统可采用同程式,即系统布置成水平和垂直均同程式
采用双管系统可实现采暖按户分环,分室分控的目的。











