VRV空调系统特性与控制策略研究(二)――――压缩机-冷凝器联合调节特性与控制策略
| 摘要 通过对影响VRV空调系统压缩机-冷凝器模块流量和换热量的压缩机频率、室外空气温度、冷凝温度、冷凝器风量、压缩机吸气压力与吸气过热度的模拟分析,得出了不同参数对系统的影响和调节特性,提出了压缩机频率控制冷剂流量,室外机风量控过冷度的新的控制原理和方法,这种方法更适合于VRV空调系统。 关键词:VRF空调系统 压缩机 冷凝器 调节特性 控制策略 独立控制 | |
符号 |
3.1 压缩机频率-流量特性

图 1 Gr-Fz-Te关系曲线
当空调系统制冷剂过热度Tsu=5℃,冷凝温度Tc=50℃时,制冷剂流量Gr与压缩机频率Fr、蒸发温度Tc的关系曲线如图1所示。在相同入口状态下,制冷剂质量流量随压缩机频率的上升而增加;随着蒸发温度的升高,压缩机的压缩比逐渐变小,压缩机入口制冷剂比容减小,其流量特性曲线的斜率逐渐增加。
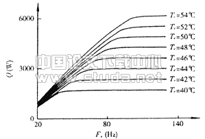
3.2 冷凝温度-压缩机频率联合调节特性
在风温Tα=35℃,Te=7℃,Tsu=5℃时,冷凝器换热量Q与压缩机频率Fl、冷凝温度Tc的关系曲线如图2所示。

图2 Q-Fz-Tc关系曲线
当冷凝压力不变时,在频率很小的情况下,制冷剂流量也很小,冷凝器出口有很大的过冷度;随着压缩机频率的上升,制冷剂流量增大,两相区长度相对增加,在仍保证冷凝器出口制冷剂过冷的情况下,冷凝器的换热量随着流量的增加而逐渐增大;当流量增大到冷凝器出口制冷剂为两相状态时,空气侧的换热已达到极限,所以换热量基本保持不变。当冷凝温度(冷凝压力)上升时,压缩机进出口压缩比增大,制冷剂质量流量变小;但冷凝温度的升高,压缩机出口的制冷剂焓值和温度都增大,与外界空气的换热温差就越大,增大了空气侧的换热极限,所以在冷凝器出口为过冷时,换热量只有少量增加,而冷凝温度增加后,增大了过冷段的长度,同时也使最大换热量有了很大的提高。
3.3 冷凝器风量-风温联合调节特性
在Tc=50℃,Te=7℃,Tsu=5℃,Fz=80Hz情况下,冷凝器换热量Q与风量Gα、风温Tα的关系曲线如图3所示。

图3 Q-Gn-Tα 关系曲线
当风温不变时,在风量很小的情况下,冷凝器出口制冷剂为两相状态;随着风量的增加,换热量逐渐增大,冷凝器出口制冷剂干度和焓值都逐渐减小;当风量增加到冷凝器出口制冷剂已经过冷后,尽管风量的增加会进一步加大冷凝器出口制冷剂的过冷度,从而增加换热量,但由于过冷制冷剂与空气只进行显热交换,换热量增加的速度明显减小。当风量不变、降低风温时,制冷剂与空气的换热温差增大,换热量也随之增大;尤其是当增大冷凝器出口制冷剂为两相状态时,增加的效果显著,当到冷凝器出口制冷剂为过冷后,降低风湿只能增大过冷度,但此时增加的部分为显热交换,换热量增加缓慢。
3.4 风量-频率联合调节特性
在Ta=35℃,Te=7℃,Tsu=4℃,情况下,Tc=48℃时,过冷度Tsb与压缩机频率Fs、风量Ga的关系曲线如图4(a)所示;Ga=2000m3/h时过冷度Tsb与压缩机频率Fz、冷凝温度Tc的关系如图4(b)所示。
当风量不变时,在压缩机频率很小的情况下,制冷剂流量很小,冷凝器出口制冷剂为过冷状态;随着频率的增加,制冷剂流量增大,换热量逐渐增大;当流量增大到一定程度后,冷凝器出口制冷剂为两相状态,流量的增加只能增加管内侧的换热系数,但管外侧空气换热已接近极限,换热量只有少量增加。当压缩机频率不变即制冷剂流量不变的情况下,当风量很小时,冷凝器出口制冷剂为两相状态;当风量增加后,冷凝器出口制冷剂的干度和焓值逐渐减小,换热量逐渐增大;当风量增大到冷凝器出口制冷剂过冷后,尽管风量的增加会进一步加大冷凝器出口制冷剂的过冷度从而增加换热量,但由于过冷剂与空气只进行显热交换,换热量增加缓慢。
4.控制策略
在SVRV空调系统中,为满足室内蒸发器冷负荷的需要,要求室外机提供一定状态和流量的制冷剂,为了满足系统的稳定运行,在冷凝器出口有一定的过冷度要求;在热回收型MVRV空调系统中,多个室内机可能同时制冷和制热,需要室外机提供一定的制冷剂,并且室外机的换热量要和室内总负荷相匹配,都需要对室外机出口的制冷剂状态和流量进行控制。

图4 Tsb-Fz-Gα和Tsb-Fz-Tc关系曲线
以上对影响冷凝器换热的多个参数分别进行了分析,这些参数中,蒸发温度和冷凝温度是表征制冷系统运行的状态参数,风温由实际运行时的室外空气参数决定,压缩机入口过热度是压缩机正常运行的要求,因此上述参数中只有压缩机频率与冷凝器风量是调节参数,而用这两个参数要满足室内蒸发器侧负荷提出的制冷剂流量和过冷度要求。
压缩机与冷凝器联合工作状态方程为:
根据上文分析,在压缩机频率优先控制制冷剂流量的情况下,可以用风量独立调节过冷度,即B(t)为上三角矩阵,可以实现压缩机频率与室外机风量对系统制冷剂流量和冷凝器出口制冷剂过冷度的解耦控制。
5.结论
根据以上分析,在压缩机频率优先控制制冷剂流量的情况下,可以用风量独立调节过冷度,可以实现压缩机频率与室外机风量对系统制冷剂流量和冷凝器出口制冷器出口制冷剂过冷度的解耦控制。
1.陈华俊.变频空调器压缩机性能模拟与分析.清华大学本科生毕业,1999
2.葛云亭.房间空调器系统仿真模型研究.清华大学博士学位论文,1997




(11)