套管泵(二)
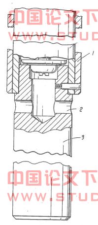
密封件的寿命问题是通过一组密封装置和限制了泵在井中气体部分下落的速度来保障的。为了降低泵在井中气体部分的下降速度,而又不影响泵在液体中的下落速度,泵体中提供了一种制动装置,它对穿过泵体的流体提供了不同的阻尼,即因流体是气体还是液体而不同。特别地,该制动装置在泵体腔内入口塞堵形成的台肩的上部安置了一个制动体,它在底端正对着台肩开有一个内腔。该制动体的外表面是一个圆锥面,越往下面该锥面变得越大,因而形成了围绕着制动体下端的流体阻尼区。制动体上安置了一个制动器阀门和一个对着阀门的压缩弹簧,当阀盘与台肩重叠的时候,它能够阻止气体在泵体中的快速通过。因此,泵 下落速度由于气体通过阀盘的速率而受到了限制。当泵达到井中液体的部分时候,进入泵体腔内的液体对阀盘的第一次撞击驱动阀盘覆盖住制动体的内腔而使液体能流过泵腔。尤其是通过围绕着制动体底端的环行通道。在制动体的底端开了一些槽,它们位于腔(制动体腔)与环行通道之间,这样,一旦液体流过环行通道吸附现象就会在制动体底端的腔内产生来维持制动体底端与阀盘的相配合的状态,进而能确保液体能顺利流过泵体,因此也就能确保泵体在井中液体部分的顺利通过。
该发明也包含有密封组件,她含有高弹性的部件与套管内径相配合,它被牢牢地固定在两个支座之间,他还具有可调节的外径以达到使用一种型号的密封组件就可以适应不同型号的油井。为达到这样的目的,该发明提供了几组密封组件,每一组件都含有高弹性密封件,该高弹性密封件都具有末端与肩环的凸缘相配合。密封的中间向外突出在密封件与肩环之间形成一个腔,在该腔内置有调节环来支撑着密封件的末端,这样就能把密封件固定在泵体的周围。每一调节环均由上下隔套组成,这样调节环的长度就可以调节,主要是通过调节密封件尾端的距离来实现的,因此就能改变密封件的外径来匹配所用井的套管。
3.4 套管泵试验装置
以下是套管泵的试验装置示意图

图3-3 套管泵的试验装置
研制实用的套管泵要利用实验设备。美国俄克拉何马州的Basco公司与Free Lift公司合作设计并制造了一台实验设备,该设备能在4 1/2 英寸和5 1/2 英寸的套管中试验套管泵。利用此设备制造了性能可靠的套管泵
图3.3是试验设备的示意图,该装置中有一个计时器,它能够准确测出套管泵的下行速度。能够确定泵在单相和两相流条件下的下行时间。产液量用孔板流量计计量,当压力为0~10.95
时,测到的产气量为0~7080
。 在不同条件下进行了大量试验,积累了大量的资料来确定套管泵的功能。除了实验室资料外,还从常规的实际油井中获取了现场资料。
利用积累的资料,Free Lift 公司确定了为使某一给定井成功地应用套管泵所必需保持的压力和产量。
3.5 套管泵现场应用条件
影响套管泵的正常工作的主要因素有两个:一是油井的有关参数;二是套管泵的有关结构参数。在油井的有关参数中,油井内天然气的压力直接影响到套管泵每次所能举升的液体的质量,而油井的天然气产量又决定了在某一段时间内泵所能举升的次数。套管泵内压力检测装置的结构参数控制着泵在液体段内的下落深度;减速装置的结构参数又影响着泵在油井中的下落速度(包括气体段和液体段)。所以最好的情况应该是:合理确定泵的有关结构参数,控制泵的下落速度及泵在液体段内的下落深度,以使泵在某一段时间内(如1天)所举升的液体质量与油井的产气量、产液量和油井内的天然气压力等参数达到较好的匹配。.
要弄清套管泵在某一特定井中的工作情况,首先必须确定该井是否能产出足够的气体,并有足够的产量和压力来推动套管泵工作。
为此可以使用下面的程序和理论。
为此目的借鉴了俄克拉何马洲一口井的实际资料,并用以下程序进行了。
第一步:获取要求的数据。
射孔段顶部深度,1700 m。
套管尺寸,4 1/2 英寸。
产气量,1360
。
管线压力,2.34
(若井口点火放空烧掉则为1.46
)
产液量,0.460
/日。
关井压力,(不能用瞬时关井压力)。14.6
。
达到关井压力时所用时间,5小时。
第二步:确定该井天然气和原油产量是否太高。
套管泵运行的最大产量受下列三个条件限制。
(1)套管泵每个行程只能可靠地举升0.64~0.8
液体。
(2)套管泵完成一次循环时间可能很长。根据大量试验和经验:最大日产量不超过6.36
(3)在气产量最高的井,作用在套管泵上的摩擦力阻碍了泵的下行。根据线性动量守恒公式
和Bernoulli 方程


由上述两方程得到

套管泵能逆流下行的最大产气量约为9912 /日。
将来更有效的套管泵设计,应能使套管泵在产气量大于9912
/日,产液量大于6.36
/日的井中工作。Free Lift公司的实验设备的最大排气能力为7000![]()
,在上述条件下,套管泵工作平稳。
第三步:确定套管泵每天的工作行程数和每行程的产液量。
泵每天工作的行程数(
)一般在1~10之间变化,以2~4次为最佳。该推荐值是基于对密封罩的磨损和撕裂最小提出的。这里,随便选一个行程/日 ,如
=2行程/日。
每行程产液量(
)一般在0.16
~0.95
之间。其中以0.32
~0.64
最佳。当每行程排液量超过0.8
时。套管泵的工作就变得越来越不正常。
确定每行程的产液量:
=
=0.23
/行程/日
第四步:确定举升每一行程液体所需的压力。
每一行程过程中,推动泵所需的压力(
)是泵所举升液量的函数。泵上部的气柱静压要略微低于套管泵每一行程实际举升的液量,但在计算中一般将其忽略。
方程中的常有量有:泵的重量(
)每桶原油和盐水的平均重量(分别为
和
)以及套管内横截面积(
)
图3-4 举升每行程液体所需压力
确定
的公式为:
式中:
——原油体积数 / 行程;
——出口管线压力,
;
——盐水体积数 / 行程。
该方程的曲线如图3-4所示。
根据图3-4,当
=1.5,油 /盐水 比例为2.5/0.4,套管直径为
英寸时,求得举升每一行程液体所需的压力为:
=4
/行程
再求得每一行程所需的总绝对压力:
(表压)+4.088
/行程
=6.424
/行程
第五步 确定每天可用的气量。
用来推动泵工作的气体量(
)要少于油井的总日产量。这主要是由于当泵位于井的顶部或下行程时,生产出的气体没有用来推动泵
下述方程包括通过密封罩沿程漏失(LL),因而在计算中需加一气体损失系数(LF)以保证有足够的气体举升液体。
式中:
——泵在气体和液体中的下行速度。m/s
——套管体积, ![]()
——泵在井口停留泄掉油或气的时间,s/
;
——行程数
天然气的标准体积数,单位行程以及行程数/日都是无因次量。
取近似值,上述方程简化为:
/日
该方程表示的曲线、如图3-5所示。
取气体量1359
,行程数2次/日,由图3-5得到
=11.44
/日

图3-5每天可用的气体量
第六步:确定在要求的举升压力下可得到的气体体积。
利用压缩系数Z的进一步计算表明:在P2的压力下,可得到的气体体积(V2)可极为近似的按理想气体近似公式描述:
=
=189.23
式中:
——标准大气压。
第七步:确定每天需要的气体体积量
每天需要的气体体积量可以由下面公式进行计算
该方程的曲线如图3-6和图3-7所示。
取套管直径为4 1/2 英寸(射孔段井深1700m),行程数2次/日由图3-6查得
=28.32
;
图3-7用来确定套管直径为5 1/2英寸时的
;


第八步:确定每天可选用的最大行程数。
计算套管泵每天工作行程数(
)的公式主要是基于下面的假设条件:达到关井压力的时间(Ts)和关井压力(Ps)在套管泵的运行压力范围(5.27
~10.5
)内接近成正比关系。
基于这一假设导出下面公式:
式中TF为泵的下行系数,它把套管泵的下行时间结合到了方程之中。泵下行系数(TF)保证了每天的形成数为一稳妥值。
该方程的曲线如图3-8所示:
=0.41
取
=0.41,
=5小时,行程数
=2。
=10行程/日

图3-8 每天所能采用的最大行程数
第九步:根据结果确定对某一给定井采用套管泵能否正常运行。
该井必须满足下列条件:
1.该井的油。气产量分别不超过6.36
和9912
。
2.关井压力Ps加上1.03
(绝对)必须达到或超过举升液体所需之压力P2,即:
3.油井产气量必须大于推动套管泵工作所需的气体量V3:
![]()
4.套管泵每天可最大工作数必须大于行程数:.
如果此过程的任一条件没有满足,那么每天工作行程数就应该改变,而且应该按此过程从新计算。
每一口井都应该按其具体井况而进行仔细计算,有的井适合用套管泵,有的井不适合用套管泵,这应看计算结果而定,若所计算结果都符合上述条件,那么这口井就非常适合使用套管泵。
套管泵自身的结构参数(气缸内活塞行程△S和减速装置及流道阻力)也对其工作性能有很大的影响。
1.气缸内活塞的行程
气缸内活塞的行程直接影响套管泵下人液面以下的深度,控制泵每次举升液柱的高度H,其关系可表示为
式中:
2.减速装置及流道阻力
减速装置用于控制泵的下落速度,其实质是对流过泵内的流体产生一定的阻尼。泵以一定速度
均速下落时,流过泵内流道(包括减速装置的其他流道)的流体产生的阻力损失为

式中:
为通过泵内流道流体的体积流量。当泵在天然气中下落时,取
;当泵在液体中下落时,取
为泵内流道的进出口压差。由泵内流道中流体的动量方程及泵的平衡方程导出

式中:
为密封皮碗上部介质的压力,对于在天然气中的下落情况,近似取为
。由此可得出对应于泵在天然气及液体中下落的两种极限工况,泵内流体的阻力损失
,和
。
为泵以
= 2.54m/s 在天然气中下落时通过泵内流道的天然气的阻力损失。
为泵以
=0.051m/s在液体中下落时通过泵内流道的液体的阻力损失。以此阻力损失作为流道计算的依据,即(1)泵在天然气中以不大于2.54m/s的速度下落时,泵内流道对天然气的阻力损失不小于
。(2)泵在液体中以不小于0.51m/s的速度下落时,泵内流道对液体的阻力损失不大于
。
要使套管泵达到理想的自动举升效果,还存在一些实际问题。这是因为每一种规格的套管泵对油田的井况都有一定的限定范围,即使是同一规格的套管泵,其活塞的行程、减速装置的节流间隙都要根据井况进行相应的调整。目前套管泵的设计和应用主要还是根据实验来确定川,下述间题还需作进一步探讨。
1.压力检测装置中,活塞与气缸的摩擦阻力对压力变化的不敏感度及不同形状的密封
皮碗与套管壁的摩擦力与其上下压差的关系;
2.减速装置对流体的阻力与其结构、流体的性质及运动参数之间的关系;
3.不同约束边界条件下,流体对阀球的拖曳力的确定。
第4章 套管泵井口装置
4.1 套管泵井口装置组成
套管泵井头装置由以下几部分组成:
由下至上依次为:总闸阀,防喷盒,由此分为两条支路,一条是日常工作时的油路,其组成为:下泄油管,工作闸阀,压力表,主泄油管路,储油罐;另一条支路供有故障或者停止工作时候用的,其组成是捕检副闸阀,捕检腔,法兰端盖,上泄油管,泄油阀,捕检主闸阀,压力表,主泄油管路,储油罐。
4.2 套管泵井口装置工作原理
1.工作时,总闸阀开启,捕检副闸阀关闭,工作闸阀开启,捕检主闸阀关闭,这样工作支路与非工作支路互不干涉,
当套管泵举升着油液通过总闸阀上升到防喷盒里面时,上面的液体先流入泄油管,当游液全部进入到泄油管路时,套管泵的中心杆正好碰到捕检副闸阀,该碰撞促使套管泵的内封闭阀打开,泄掉套管泵下面的气体,。这样就使套管泵从新落回井中进行另一次生产。
2.其非工作时的原理为:
当要检修或不工作时,需要捕捉套管泵,这样就设计了捕检腔,其工作原理为:
非工作时,工作闸阀关闭,捕检主闸阀开启,捕检副闸阀也开启,这样非工作支路开通。当套管泵上升至通过总闸阀时,关闭总闸阀,这样就不能使套管泵从新落回到井中,套管泵上升,泄掉油液之后,其中心杆改之与端盖发蓝碰撞,泄掉套管泵下面的气体,这时或停止工作,或在关闭捕检主闸阀后打开端盖发蓝,取出套管泵进行检修。
4.3 套管泵井口装置尺寸设计要求
为了套管泵能正常输送油液,必须保证各部件之间的相对位置。套管泵井头装置设计须按套管泵的尺寸而定,为了泄掉油液之后能及时泄掉套管泵下面的气体和在要泄掉套管泵下面的气体的时候能尽可能多的泄掉油液,使生产效率提高,应严格保证下泄油管与捕检副闸阀的相对位置或上泄油管与法兰端盖的相对位置。
考虑到泵体在其下面高压气体的推动下做非直线上升动作,它与防喷盒的外壁,捕检腔的外壁均有碰撞,对外壁有力的作用,所以主腔法兰处的连接均采用钢圈密封。
为能盛装住整个套管泵体,总闸阀与端盖法兰之间的距离应大于套管泵工作位置总长度,即内封闭阀关闭,中心杆伸出导向管时的总长度。
第5章 套管泵封隔器
5.1 封隔器设计
封隔器设计应能保证承载泵体的全部重量,还应该具有结构简单,封隔效果好,还应具有一定的减震性能。为此目的,在老师的指导下,设计了如图6.1所示的封隔器2,它完全靠自身的弹力使自己压紧油井套管,用它与油井套管之间的摩擦力来起到封隔作用。又由于封隔器材料为弹簧钢,所以具有一定的减震功能。
5.2 封隔器弹射装置设计
由于本封隔器结构简单,所以其安装及定位有些困难,为此设计了其弹射装置,如图6.1所示,起结构如下:
滑板3,拉杆5和钓钩通过焊接连在一起,构成弹射装置的一个整体运动部分,滑槽6,8分别安装在滑板的两端,使滑板能在其槽内自由向上滑动,其下端封闭。滑槽6,两端分别铰接弹性钢丝绳9 和棘爪14,滑槽8两端分别铰接弹性钢丝绳9 和棘爪13,弹性钢丝绳9通过拉伸弹簧11连接在滑板3上;封隔器2上焊接有两个弹射板19,20,其上各有一个弹射孔,封隔器上端中心处也通有一个小孔。封隔器上的这三个小孔是用来把封隔器安装在拉杆上的。
5.3 封隔器弹射装置工作原理
如图6.1和图6.2 所示,首先把封隔器安装在弹射装置的拉杆5上,封隔器靠自身弹力即可固定在拉杆5上。当下放封隔器到达预定深度之前,棘爪处于非工作状态,即处于图6.1的状态,但到达预定深度后,向上拉伸钢丝绳18,封隔器进入工作状态,如图6.2所示,由钢丝绳18带动滑板3拉杆5及拉伸弹簧11一起向上运动,拉伸弹簧11的向上运动通过弹性钢丝绳9带动滑槽8,6一起向上运动,滑槽8,6的向上运动带动棘爪14,13也向上运动,然而棘爪14,13运动到卡箍21的环槽内时停止运动,这样就阻止了滑槽8,6的向上运动,但拉杆5,滑板3继续向上运动,运动到图所示位置时,滑板3尚未脱离滑槽8,但拉杆已脱离封隔器的两个弹射板19,20。这时 ,封隔器已经弹射完毕。之后,继续向上拉钢丝绳18,带动滑板3脱离滑槽8,6 。之后滑槽8,6处于自由悬空状态,通过弹性钢丝绳9,拉伸弹簧11吊在滑板3上,随着滑板3一同回收到地面,至此弹射过程完毕。
图6.2

图6.1
1
第6章 结论与建议 6.1结论
本文基于套管泵的工作原理,着重以它的结构设计为重点,为能更有效,更安全的举升油液,本文所设计的套管泵的重点部位有:
(1)总内封闭阀,它能够保证由井中的气体压力驱动而到达井头的套管泵到达井口时释放出泵体下面的气体。
(2)制动体,本文设计了一种与众不同的制动装置,它能够保证泵在井中气体部分的下落速度不过分快而又不影响它在井中液体部分的下降速度。
(3)密封罩,它为泵提供了一组密封装置,能够被调节地匹配其所用于的井,
在套管泵与所用井的套管之间形成密封。同时其寿命也因制动体的调节而得到了延长
由于泵体结构的特殊性,常规井口装置不能适应其生产要求,为此,进一步设计了与之配套的井口装置;为使其不落入生产层位以下,降低生产效率,又设计了简单实用的封隔器,并一同设计了它的弹射装置。
另外,通过借鉴美国俄克拉何马洲一口井的实际资料,给出了套管泵现场使用条件的公式,并结合资料给出了具体计算。
6.2建议
基于不同现场具体实际要求,还可以对其某些部位进行结构优化调整,其调整如下:
(1)如图6.1所示,为进一部控制套管泵在油井中液体部分的下落速度,可以对底端的入口塞堵进行调整,塞堵长度可按实际要求进行适当延长进行加重设计,这样就要求在塞堵上转有如图所示的通孔,另外还可以通过螺钉在泵座的外侧安置壁袖,这样也能达到加重目的。

图6.1
(2)如图6.2所示,可以简化内封闭阀阀座的结构,即内封闭阀阀座与密封罩挡圈制造成一体,这样就减少了阀套的设计安装。但是其内部的内封闭阀阀座面相对于泵体的位置高度还是可以调节的,通过取不同长度的调整环298就可以保证两密封罩之间的距离与台肩56和内封闭阀阀座一体的挡圈之间的距离一致。

图6.2
(3)如图6.3所示,为了能更充分的利用泵体下面的液体压力,让更多的液体进入到密封罩的内腔内,可把原来开在泵体内壁上的小孔该开在密封罩自身的下部,这样液体可不经泵体内腔而直接沿着泵座外壁进入到密封罩的内腔内,可以改善密封罩与套管内壁的密封。

图6.3
[1] Harold E.Bass, Richard E.Bass,CASING PUMP[P] . 美国专利:4696624,Sep.9,1987 .
[2] William Dwight Gramling .GAS POWERED SWABBING DEVICE [P] . 美国专利:4070134, Jan.24,1978.
[3] Randall Gabrel , Terri Corneet. Casing pumps can curb costs, increase output in certain wells[J]. Oil & Gas Journal, Apr.13,1987: 42---47.
[4] 张强,符达良,张晓东,周鹤法。套管泵工作原理及应用中的有关问题[J].石油机械,1996,24 (3):47—50.
[5] 徐秀芬,朱军,卫与乾,赵宇弘.套管泵采油技术研究及现场应用[J]. 石油机械,2000,28(7):22—23.
[6] 扬美华. 套管采油井抽油杆柱力学行为研究及应用[D]. 西南石油学院,2005.6
[7] 李霖,程建军,黄学宾,李小奇,等. 管式泵最大下入深度的计算方法及应用[J]. 石油矿场机械,2002,31(6):33—35.
[8] 李小奇,王海,李霖,唐佩瑜,李福林. 柱塞气举采油工艺在文东油田的应用[J].转采工艺,2004,27(4):28—30.
[9] 单彩艳,赵忠良. 大庆低效油田综合治理研究[J]. 石油规划设计,2005,16(3):11—13.
[10] 濮良贵,纪名刚.机械设计第二版[M].北京:高等出版社,2001.
[11] 傅则绍.机械原理[M].北京:石油出版社,
[12] 唐增宝,何必然,刘安俊.机械设计课程设计[M].武汉:华中科技大学出版社,1998.
[13] 机械设计手册编委会.机械设计手册新版第三卷[M].北京:机械工业出版社
[14] 采油技术手册编委会.采油技术手册[M].北京:石油化学工业出版社,1977.











